EasyManua.ls Logo

RS PRO Iso-tech IPS 601A - Page 13

RS PRO Iso-tech IPS 601A
21 pages
Print Icon
To Next Page IconTo Next Page
To Next Page IconTo Next Page
To Previous Page IconTo Previous Page
To Previous Page IconTo Previous Page
Loading...
E10
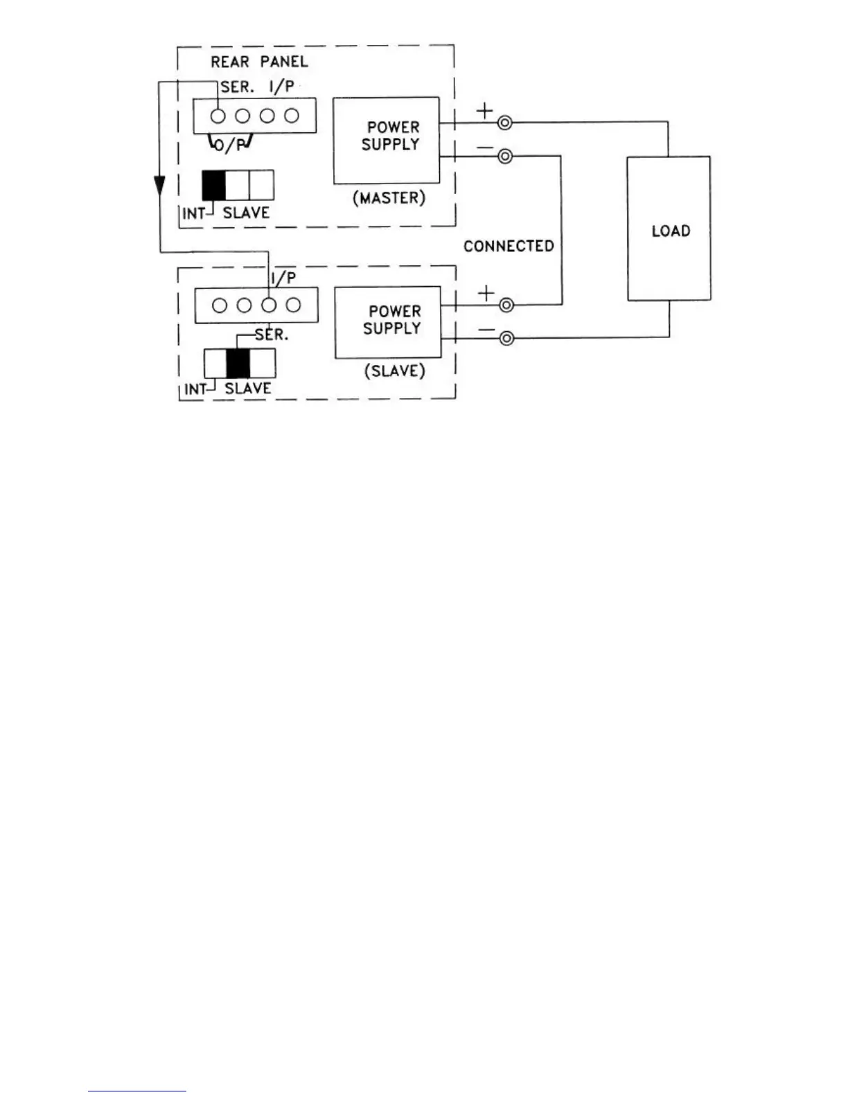
Fig. 4-2 Connecting Two Power Supplies in Series

Related product manuals