EasyManua.ls Logo

Ruby XL HD - Page 13

Ruby XL HD
56 pages
Print Icon
To Next Page IconTo Next Page
To Next Page IconTo Next Page
To Previous Page IconTo Previous Page
To Previous Page IconTo Previous Page
Loading...
7
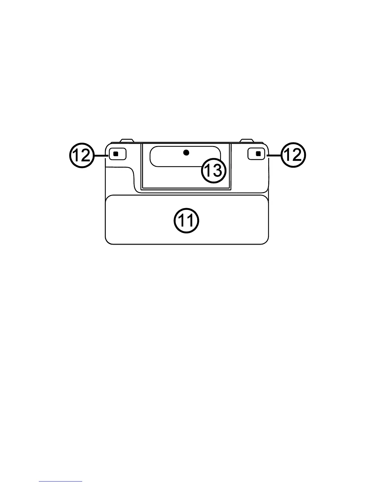
11. Handle in closed position
12. LED lights
13. Camera (5 MP)