EasyManua.ls Logo

ryan 544853G - Engine, Mount, & Covers Parts

Default Icon
68 pages
Print Icon
To Next Page IconTo Next Page
To Next Page IconTo Next Page
To Previous Page IconTo Previous Page
To Previous Page IconTo Previous Page
Loading...
50
HEAVY DUTY
SOD CUTTER
7
63
2
57
28
56
15
9
4
27
18
38
24
25
12
1
55
59
61
11
54
43
37
1
7
60
45
47
39
13
11
21
49
23
19
8
48
42
46
6
1
3
35
30
9
16
22
4
9
4
5
1
40
29
29
36
36
5
4
41
33
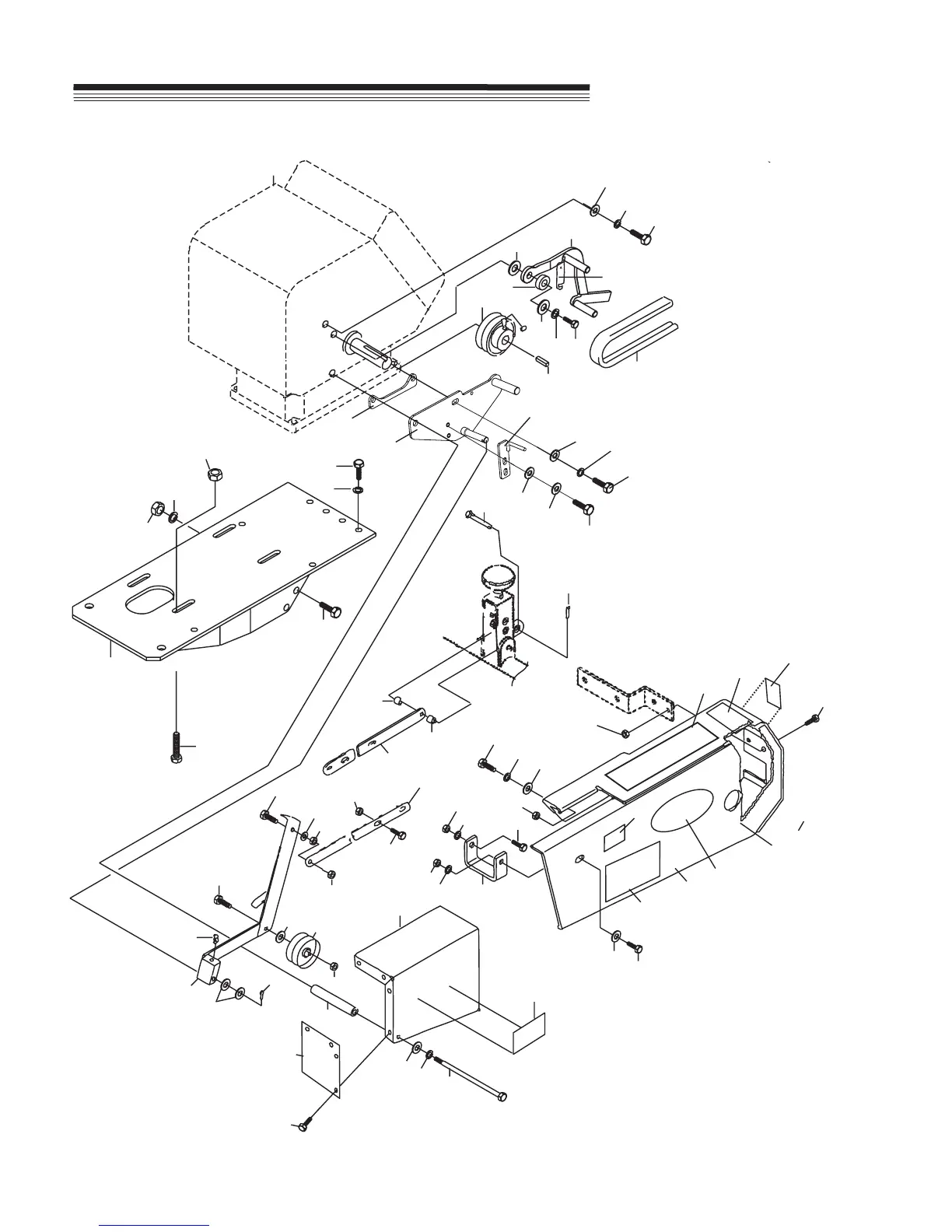
Heavy Duty Sod Cutter
Professional Grade
32
20
26
34
14
31
23
47
51
52
53
17
7
12
58
4
62
10
8
50
ENGINE, MOUNT, & COVERS
FIGURE 4