EasyManua.ls Logo

Ryobi TS1300 - Cutting Warped and Wide Workpieces

Ryobi TS1300
28 pages
Print Icon
To Next Page IconTo Next Page
To Next Page IconTo Next Page
To Previous Page IconTo Previous Page
To Previous Page IconTo Previous Page
Loading...
Page 20
45
15
0
30
15
30˚
00
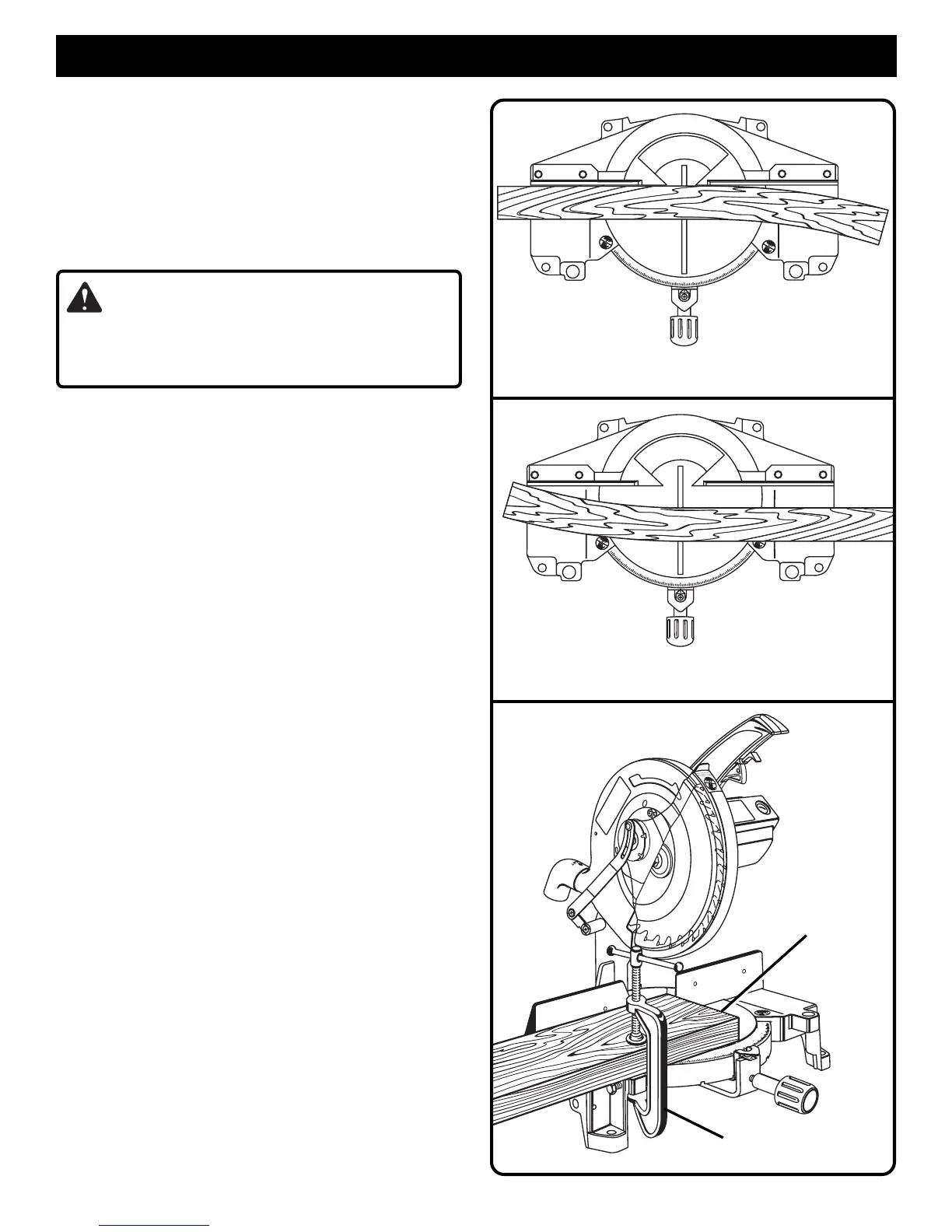
CUTTING WARPED MATERIAL
See Figures 24 and 25.
When cutting warped material, always make sure it is
positioned on the miter table with the convex side against the
fence as shown in figure 24.
If the warped material is positioned the wrong way as shown
in figure 25, it will pinch the blade near the completion of the
cut.
WARNING:
To avoid a kickback and to avoid serious personal injury,
never position the concave edge of bowed or warped
material against the fence.
CLAMPING WIDE WORKPIECES
See Figure 26.
When cutting wide workpieces that are too wide to be
clamped with the work clamp provided, a C-clamp must be
used. For example, when cutting 2 in. x 6 in. boards, they
should be clamped with a C-clamp as shown in figure 26.
OPERATION
Fig. 24
Fig. 25
Fig. 26
0°
15°
30°
45°
15°
30°
45°
RIGHT
0°
15°
30°
45°
15°
30°
45°
WRONG
WIDE
BOARD
C-CLAMP

Related product manuals