EasyManua.ls Logo

Sabre 15538 Hydro - COMPONENT LOCATION; SHIFT LINKAGE COMPONENT LOCATION-K-51 TRANSAXLE

Default Icon
191 pages
Print Icon
To Next Page IconTo Next Page
To Next Page IconTo Next Page
To Previous Page IconTo Previous Page
To Previous Page IconTo Previous Page
Loading...
COMPONENT LOCATION HYDROSTATIC POWER TRAIN
2/12/97 6 - 13
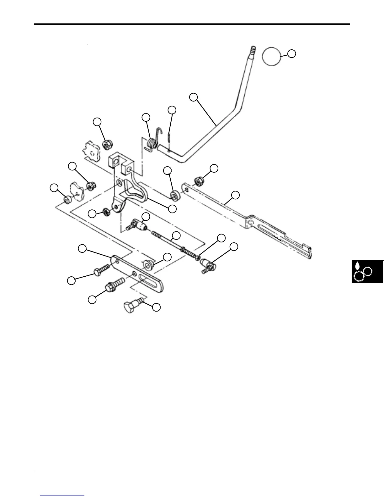
SHIFT LINKAGE COMPONENT LOCATION—K–51 TRANSAXLE
1. Torsion Spring
2. Spring Pin (4 x 20 mm)
3. Gearshift Lever
4. Knob
5. Lock Nut
6. Strap
7. Roller
8. Bracket
9. Ball Joint
10. Stud, Adjusting
11. Nut, (5/16”)
12. Ball Joint
13. Bushing
14. Shoulder Bolt
15. Screw M10 x x25
16. Screw M8 x 25
17. Support
18. Lock Nut (5/16-24 UNF 3B)
19. Spacer
20. Flange Nut, M8
21. Flange Nut, M10
8
12
10
9
7
5
13
14
15
16
17
18
19
20
1
4
2
3
11
21
6
www.servicemanualall.com

Table of Contents

Related product manuals