EasyManua.ls Logo

Salicru SLC CUBE 3+ - Page 29

Salicru SLC CUBE 3+
72 pages
Print Icon
To Next Page IconTo Next Page
To Next Page IconTo Next Page
To Previous Page IconTo Previous Page
To Previous Page IconTo Previous Page
Loading...
29
SALICRU
AC output
U-V-W
N
AC input
R-S-T
N
COM. connec-
tions
Inp.
Out.
COM. connec-
tions
Inp.
Out.
COM. connec-
tions
Inp.
Out.
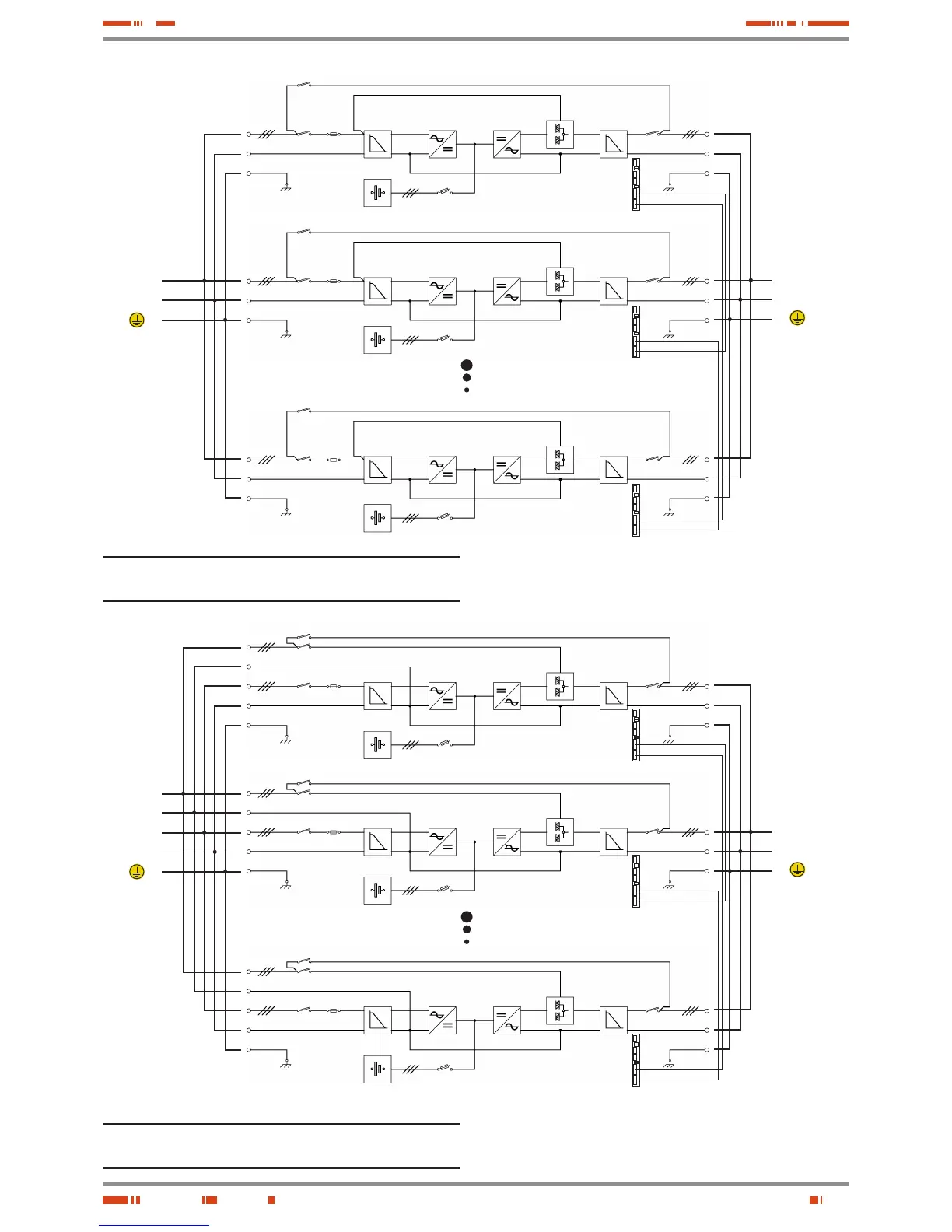
Fig. 27. Single line diagram, connection of parallel system up to
4 SLC CUBE3+ equipments.
AC output
U-V-W
N
AC entrada AC bypass
R-S-T
N
R-S-T
N
COM. connec-
tions
Inp.
Out.
COM. connec-
tions
Inp.
Out.
COM. connec-
tions
Inp.
Out.
Fig. 28. Single line diagram, connection of parallel system up to
4 SLC CUBE3+ B equipments.

Related product manuals