EasyManua.ls Logo

Salora 32LED7100C - Zijdelingse Aansluitingen; Stroomaansluiting

Salora 32LED7100C
Print Icon
To Next Page IconTo Next Page
To Next Page IconTo Next Page
To Previous Page IconTo Previous Page
To Previous Page IconTo Previous Page
Loading...
Nederlands - 8 -
Opmerking: S-VHS signaal wordt ondersteund via scartaansluiting (optioneel).
Opmerking: Wanneer u DTV zenders (Mpeg4 H.264) ontvangt of in de mediabrowser modus is de uitgang
niet beschikbaar via de scartaansluiting.
VGA-ingang dient5. om een computer met het TV toestel te verbinden. Verbind de PC-kabel tussen de
PC INVOER op de TV en de PC uitvoer op uw PC.
Opmerking: U kunt YPbPr naar VGA kabel (niet geleverd) gebruiken om het YPbPr signaal in te
schakelen via VGA ingang.
WAARSCHUWING: U kunt VGA en YPbPr niet gelijktijdig gebruiken.
SPDIF uit voert geluidsignalen uit naar de huidig weergegeven bron. Gebruik een SPDIF kabel om 6.
geluidsignalen over te dragen naar een toestel met een SPDIF-ingang.
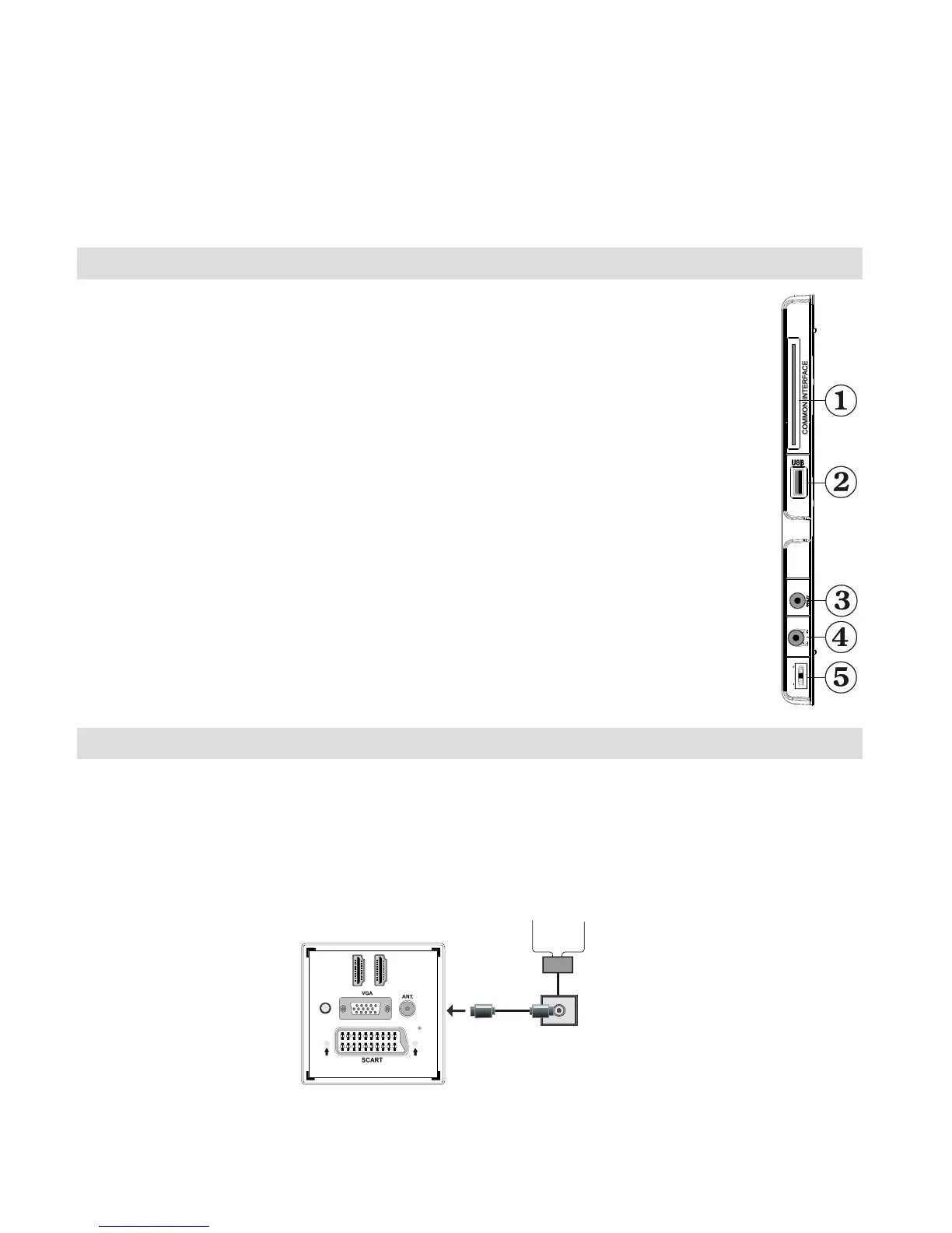
Zijdelingse aansluitingen
CI-Slot (CI-sleuf) wordt gebruikt om een CI-kaart in te brengen. Met een CI-kaart 1.
kunt u alle kanalen waarop u geabonneerd bent bekijken. Raadpleeg het hoofdstuk
“Voorwaardelijke toegang” voor meer informatie..
Side USB input (zijdelingse USB-ingang).2.
Zijde audio-video verbinding 3. ingang wordt gebruikt voor de aansluiting van video en
audio signalen van externe toestellen. Om een videoverbinding te maken, moet u de
gevelerde AV verbindingskabel gebruiken om de verbinding in te schakelen. Voer eerst
de enkele aansluiting van de kabel in de TV zijde AV aansluiting. Daarna voert u de
videokabel (niet geleverd) connector in de GELE ingang (op de plurale zijde) van de
geleverde AV verbindingskabel. De kleuren van de aansluitingen moet overeenstemmen.
Om de geluidsverbinding in te schakelen, moet u de RODE en WITTE ingangen
gebruiken van de zijde AV verbindingskabel. Daarna voert u de geluidskabel van het
toestel in de RODE en WITTE aansluiting van de geleverde zijde AV verbindingskabel.
De kleuren van de aansluitingen moet overeenstemmen.Opmerking: U moet de
geluidsingangen van de zijde AV verbindingskabel (ROOD & WIT) gebruiken om de
geluidsverbinding in te schakelen wanneer u een toestel aansluit op uw TV via de PC of
COMPONENT VIDEO ingang.
Headphone jack (hoofdtelefoonaansluiting) wordt gebruikt om een externe hoofdtelefoon 4.
aan te sluiten op uw systeem. Sluit aan op de HOOFDTELEFOON aansluiting om geluid
van de TV te beluisteren via de hoofdtelefoon (optioneel).
Zender/volume/ Source en Stand-by aan selectieschakelaar.5.
Stroomaansluiting
BELANGRIJK: Het TV-toestel is ontworpen voor een bediening met 220-240V wisselstroom, 50 Hz.
Laat na het uitpakken het tv- toestel op kamertemperatuur komen voor u het op de netstroom schakelt.
Steek het netsnoer in het stopcontact.
Nadat u de TV uitgepakt hebt, moet u het toestel de tijd gunnen op kamertemperatuur te komen voor u het
op het elektriciteitsnet aansluit.
D I H M 1
SPDIF
Coax.OUT
D I H M 2
Antenne / Kabel
MODE
o
5Vdc
Max:500mA

Table of Contents

Related product manuals