EasyManua.ls Logo

Salora 32LED7100C - Power Connection; Aerial Connection; Viewing the Connections - Side Connectors

Salora 32LED7100C
Print Icon
To Next Page IconTo Next Page
To Next Page IconTo Next Page
To Previous Page IconTo Previous Page
To Previous Page IconTo Previous Page
Loading...
English - 40 -
VGA Input5. is for connecting a personal computer to the TV set.
Connect the PC cable between the PC INPUT on the TV and the PC output on your PC.
Note: You can use YPbPr to VGA cable (not supplied) to enable YPbPr signal via VGA input.
WARNING: You cannot use VGA and YPbPr at the same time.
SPDIF Out6. outputs audio signals of the currently watched source.
Use an SPDIF cable to trasfer audio signals to a device that has SPDIF input.
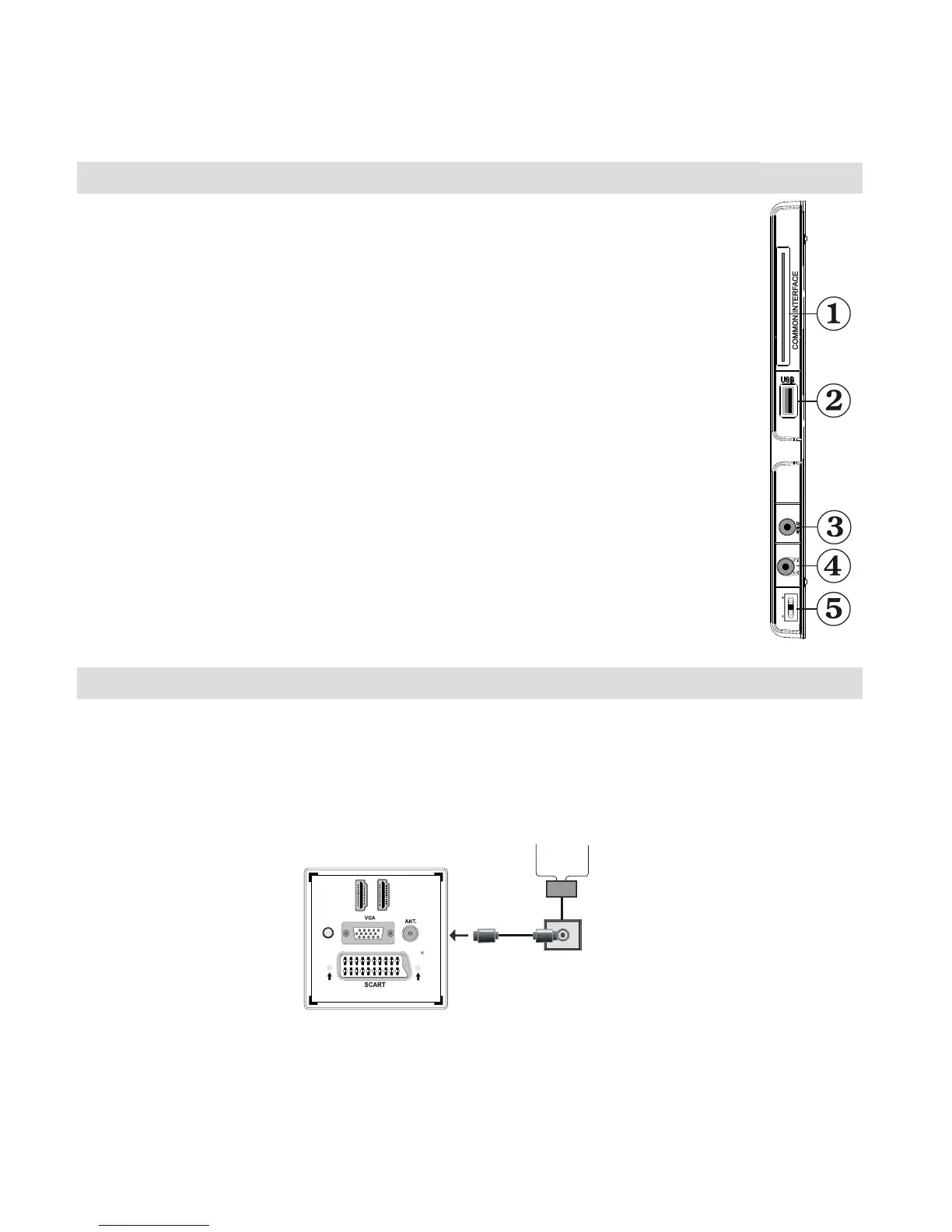
Viewing the Connections - Side Connectors
The CI Slot is used for inserting a CI card. A CI card allows you to view all the channels 1.
that you subscribe to. For more information, see “Conditional Access” section.
Side USB input.2.
Side audio-video connection input is used for connecting video and audio signals of 3.
external devices. To make a video connection, you must use the supplied AV connection
cable for enabling connection. First, plug singular jack of the cable to the TV’s Side AV
socket. Afterwards, insert your video cable’s (not supplied) connector into the YELLOW
input (located on the plural side) of the supplied AV connection cable. Colours of the
connected jacks should match.
To enable audio connection, you must use RED and WHITE inputs of the side AV
connection cable. Afterwards, insert your device’s audio cable’s connectors into the RED
and WHITE jack of the supplied side AV connection cable. Colours of the connected
jacks should match.
Note: You should use audio inputs of side AV connection cable (RED & WHITE) to enable
sound connection when connecting a device to your TV by using PC or COMPONENT VIDEO
input.
Headphone jack is used for connecting an external headphone to the system. Connect 4.
to the HEADPHONE jack to listen to the TV from headphones (optional).
Volume/ Programme/ Source and Standby-On switch. 5.
Power Connection
IMPORTANT: The TV set is designed to operate on 220-240V AC, 50 Hz.
After unpacking, allow the TV set to reach the ambient room temperature before you connect the set to the
mains. Plug the power cable to the mains socket outlet.
Aerial Connection
Connect the aerial ,cable TV plug to the AERIAL INPUT socket located at the rear of the TV.
D I H M 1
SPDIF
Coax.OUT
D I H M 2
Aerial or Cable
MODE
o
5Vdc
Max:500mA

Table of Contents

Related product manuals