EasyManua.ls Logo

Salora 32LED7100C - Affichage des Branchements - Connecteurs Latéraux; Alimentation Électrique; Branchement de Lantenne

Salora 32LED7100C
Print Icon
To Next Page IconTo Next Page
To Next Page IconTo Next Page
To Previous Page IconTo Previous Page
To Previous Page IconTo Previous Page
Loading...
Français - 71 -
L’entrée VGA sert à connecter un ordinateur personnel au poste TV. 5.
Branchez le câble de PC entre l’ENTRÉE PC sur la TV et la sortie PC sur votre ordinateur.
Remarque: Vous pouvez utiliser un câble YPbPr à VGA (non fourni) pour activer le signal YPbPr via
l’entrée du VGA.
AVERTISSEMENT: Vous ne saurez utilisez le VGA et le YPbPr de manière interchangeable.
La Sortie SPDIF (produit les signaux audio de la source actuellement regardée. 6.
Utilisez un câble SPDIF pour transférer des signaux audio en direction d’un périphérique disposant
d’une entrée SPDIF.
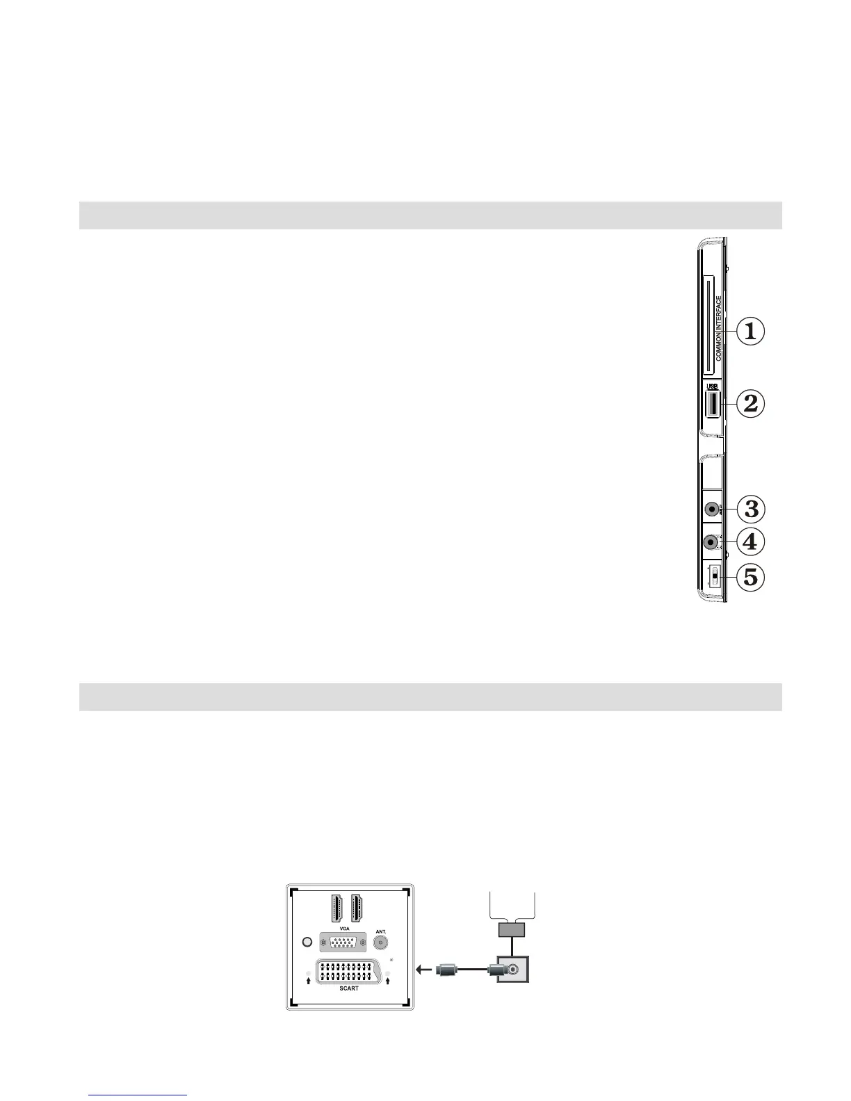
Afchage des branchements - Connecteurs latéraux
La fente CI sert à insérer une carte CI. Une carte CI vous permet de regarder toutes les 1.
chaînes auxquelles vous êtes abonné(e). Pour plus d’informations, référez-vous à la
section « Accès conditionnel ».
Entrée USB latérale.2.
L’entrée de 3. branchement latéral audio-vidéo sert à connecter les signaux vidéo et
audio de périphériques externes. Pour effectuer une connexion vidéo, vous devez
utiliser le câble de branchement AV fourni pour activer la connexion. Pour commencer,
branchez la seule che du câble à la prise AV située sur le côté de l’appareil. Ensuite,
insérez le connecteur de votre câble vidéo (non fourni) dans l’entrée JAUNE (située sur
le côté pluriel) du câble de connexion AV fourni. Les couleurs des prises jack doivent
correspondre les unes aux autres.
Pour activer la connexion audio, vous devez utiliser les entrées ROUGE et BLANCHE
du câble de connexion latérale AV. Ensuite, insérez les connecteurs de câble audio du
périphérique à l’intérieur des jacks ROUGE et BLANC du câble de connexion AV fourni.
Les couleurs des prises jack doivent correspondre les unes aux autres.
Remarque: Vous devez utiliser les entrées audio du câble de connexion AV latéral
(ROUGE&BLANC) pour activer la connexion sonore lors de la connexion d’un
périphérique à votre téléviseur au moyen d’un PC ou d’une entrée VIDEO EN
COMPOSANTE.
La prise du casque s’utilise pour brancher au système un casque externe. Raccordez 4.
au port du CASQUE pour écouter le son du téléviseur en provenance des casques (en option).
Volume / Programme/ Source et Veille sur commande de sélection5.
Alimentation électrique
IMPORTANT: Le téléviseur a été conçu uniquement pour fonctionner en 220-240V AC, 50 Hz.
Après avoir retiré la TV de l’emballage, attendez un moment pour que la TV atteigne la température ambiante
avant de brancher la TV à la prise de courant. Branchez le câble d’alimentation à la prise secteur.
Branchement de l’antenne
Branchez l’antenne ou le câble du téléviseur à la prise d’ENTRÉE DE L’ANTENNE (ANT) située à l’arrière
du téléviseur.
D I H M 1
SPDIF
Coax.OUT
D I H M 2
antenne / câble
MODE
o
5Vdc
Max:500mA

Table of Contents

Related product manuals