EasyManua.ls Logo

Samson TXM20 - PHONES and CD;TAPE IN Section; MONO;SUBWOOFER Output Section

Samson TXM20
32 pages
Print Icon
To Next Page IconTo Next Page
To Next Page IconTo Next Page
To Previous Page IconTo Previous Page
To Previous Page IconTo Previous Page
Loading...
10
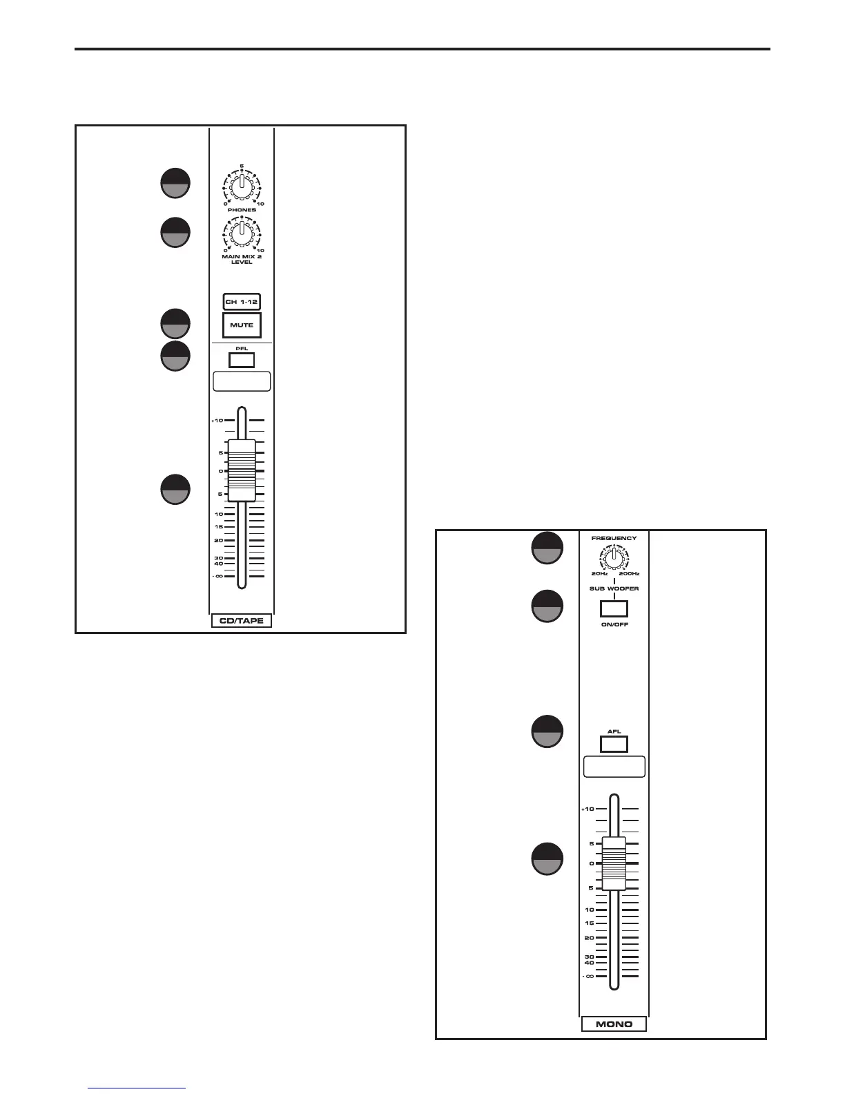
PHONES and CD/TAPE IN Section
45 - PHONES – Control knob
This control adjusts the level of Headphone Output.
46 -MAIN MIX 2 – control knob
The TXM mixers provide a second set of output connec-
tors carrying a duplicate of the MAIN MIX signal for the
purpose of feeding another speaker zone or recorder. The
MAIN MIX 2 control knob is used to set the volume of the
MAIN Mix 2 output.
47 - Mute CH 1 - 8 (12) - switch
You can turn off channels 1 through 8 on the TXM16 and
1 through 12 on the TXM20 with a press of a single button
using the MUTE CH 1 – 8(12) switch. This is especially con
-
venient when you take a break and want to leave all the
levels set so they are ready when you begin to use your
PA system again. The MUTE 1-8 does not turn off chan
-
nels 7/8 9/10, 11/12 and 13/14, and does not turn off the
CD/TAPE inputs. So, when the MUTE CH 1 – 8(12) switch is
on, you still have a 2-channel DJ mixer with two available
mic inputs. The MUTE switch features an electronic circuit
for silent switching that ramps the signal up and down to
prevent pops when the switch is turned on and off.
48 - PFL switch
The CD/TAPE input channels PFL, or Pre Fader Listen
switch allows you to listen, or solo” the CD/TAPE input in
the headphones. When the CD/TAPE input channel’s PFL
switch is pressed down, that channels signal is assigned
to the solo bus and can be heard in any optional head
-
phones plugged in to the PHONES connector located in
the front panel jack field. Since the signal is sent pre fader,
you can hear the signal regardless of the position of the
channel Level control. This allows you to listen to a chan
-
nel by itself: (let's say), to cue up a song on a CD player
without having to play it through the main PA speakers.
49 -CD/TAPE – Fader control
The TXM16 and TXM20 have a dedicated line level CD/
TAPE input to connect a CD, Tape or MP3 player. The CD/
TAPE level fader control is used to adjust the volume of
the signal connected to the CD/TAPE input.
MONO/SUBWOOFER Output Section
The TXM16 and TXM20 have a MONO output that can be
used to send to a secondary speaker zone. You can also
configure the MONO Output to drive a subwoofer system
by using the built-in variable Low Pass Filter.





Controls and Functions





Other manuals for Samson TXM20

Related product manuals