EasyManua.ls Logo

Samsung SCA23 - Page 29

Samsung SCA23
134 pages
Print Icon
To Next Page IconTo Next Page
To Next Page IconTo Next Page
To Previous Page IconTo Previous Page
To Previous Page IconTo Previous Page
Loading...
Disassembly and Reassembly
Samsung Electronics 4-15
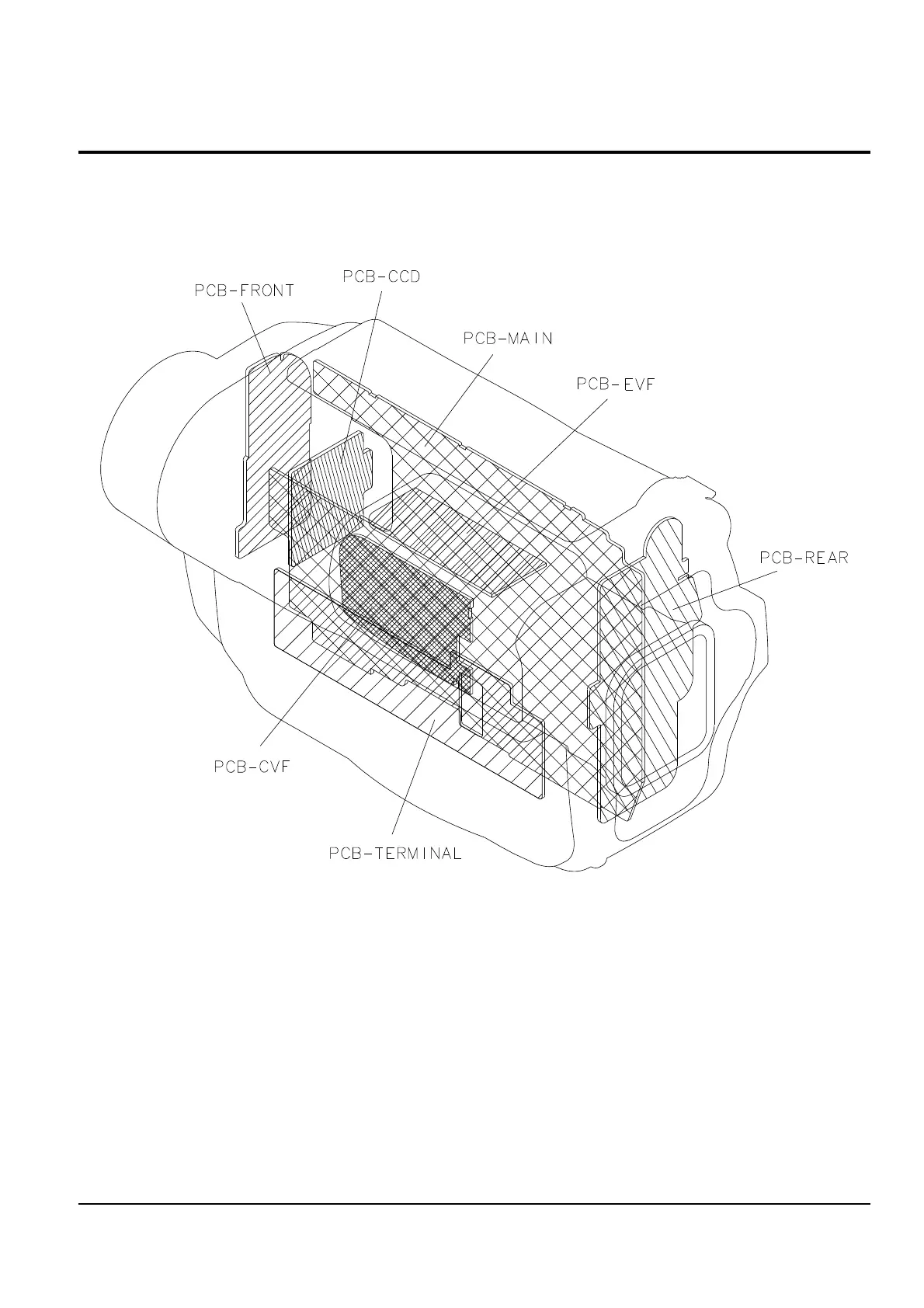
4-2 Circuit Boards Location
Fig. 4-15 Circuit Boards Location

Related product manuals