EasyManua.ls Logo

Sansui 5900Z - Page 8

Sansui 5900Z
22 pages
Print Icon
To Next Page IconTo Next Page
To Next Page IconTo Next Page
To Previous Page IconTo Previous Page
To Previous Page IconTo Previous Page
Loading...
Fat
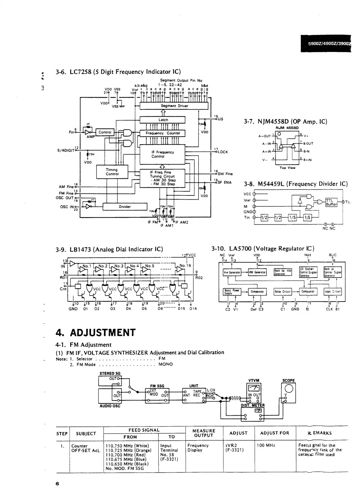
3-6.
LC7258
(5
Digit
Frequency
Indicator
IC)
Segment
Output
Pin
No.
a,b.e&g
1~5,
22~42
b&e
Voo
VSS
Vref
¢
Cacegaceg
acegig
109
eb?
Fb
-]
7
re)
bed
f
Obod9
f
9
°b9d?
f¢>
*
VDO
at
=
Us
rf
.
Pele
|
Or
oe
ate
ine
Frequency
mill
VD
ad
UT
aii
5/4DIGITO-
:
/
IF
Frequency
oLOCK
7
Control
Voo
imi
meee
=
Taras
Cae
vi
SW
Fine
Tuning
Circuit
eae
|
-
AM
30
Step
‘s
o
-
-
FM
30
Step
oSF
ENA
AM
Fine
o
o
|
_
Tpu
FM
Fine
a
E
Osc
OUT
o-
|
cf
=
ae
VDO
,
a
rpu
I
|
ODIVDOIV
DD
81
111
9
IF
FMS
"IF
AM2
1F
AM1
3-9.
LB1473
(Analog
Dial
Indicator
IC)
Supply
4.
ADJUSTMENT
4-1.
FM
Adjustment
(1)
FMIF,
VOLTAGE
SYNTHESIZER
Adjustment
and
Dial
Calibration
Note:
1.
Selector
...........+.22008-
FM
2.
FMMode
.........-.-22.-e008.
MONO
STEREO
SG
AUDIO
OSC
SUBJECT
FEED
SIGNAL
Counter
110.750
MHz
(White}
Input
Frequency
OFF-SET
Adj.
|
110.725
MHz
(Orange)
Terminal
Display
110.700
MHz
(Red)
No.
58
110.675
MHz
(Blue)
(F-3321)
110.650
MHz
(Black)
No.
MOD.
FM
SSG
Basic
Power
MEASURE
OUTPUT
ADJUST
ADJUST
FOR
sVR2
100
MHz
(F-3321)
59002Z/49002/39002
NJM
45580
Too
View
3-8.
M54459L
(Frequency
Divider
IC)
3-10.
LA5S700
(Voltage
Regulator
IC)
NC
Vref
Voo
Int
og
12
9
8
>
reese
re
|
i
4
Back
Up
VO0
YOO
Generator
Ceneratar
LS!
Canter
Back
up
Contra!
Si
gnat
Controt
Signal
Generanr
Generator
Rm
EMARKS
Feedsi
gnal
for
the
frequsrcy
Tank
of
the
ceranice
filter
used

Related product manuals