EasyManua.ls Logo

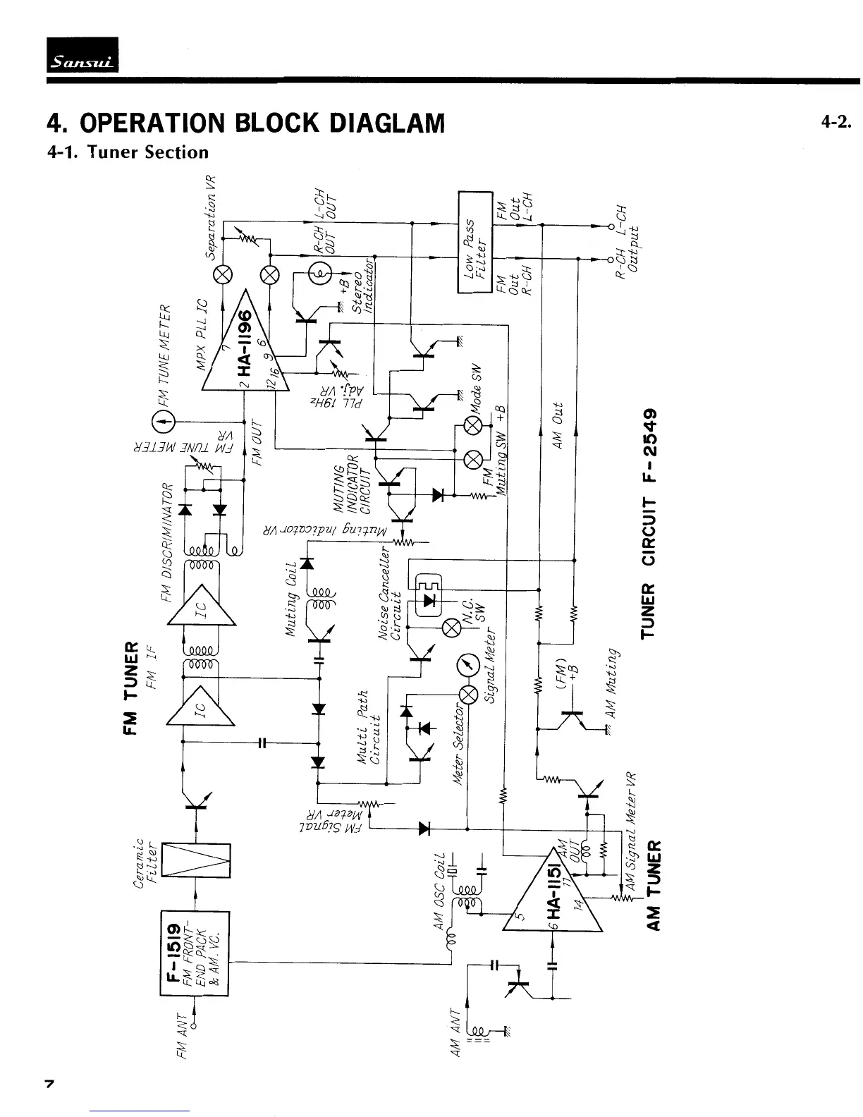
Sansui 9090 - Sansui Receiver Operation Block Diagrams; Tuner Section Block Diagram

Sansui 9090
30 pages
Print Icon
To Next Page IconTo Next Page
To Next Page IconTo Next Page
To Previous Page IconTo Previous Page
To Previous Page IconTo Previous Page
Loading...

Related product manuals