EasyManua.ls Logo

Santon PREMIER PLUS - Page 7

Santon PREMIER PLUS
28 pages
Print Icon
To Next Page IconTo Next Page
To Next Page IconTo Next Page
To Previous Page IconTo Previous Page
To Previous Page IconTo Previous Page
Loading...
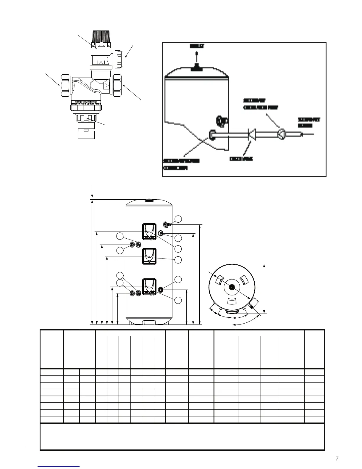
Expansion valve
Cold mains
connection
(22mm)
Expansion valve
outlet (15mm)
Outlet connection
(22mm)
Pressure reducing
valve cartridge
(3.5bar)
FIG. 2 Secondary circulation connection
FIG. 1 Cold Water Combination Valve
FIG. 3 General Dimensions and features
7
A
B
C
D
448
371
412
E
F
29
588
20°
25°
30°
45°
81
Ø550
7
8
9
10
6
5
4
3
2
1
1. SOLAR PRIMARY RETURN
2. SOLAR PRIMARY FLOW
3. AUXILLARY BOILER RETURN
(INDIRECT MODELS ONLY)
4. AUXILLARY BOILER FLOW
(INDIRECT MODELS ONLY)
5. T&P VALVE
6. SECONDARY RETURN
7. BOOST IMMERSION HEATER
(DIRECT MODELS ONLY)
8. AUXILLARY CONTROL HOUSING
9. INLET
10. SOLAR CONTROL HOUSING
A B C D E F
TYPE
DIMENSIONS (mm)
AUXILLARY
VOLUME
(litres)
AUXILLARY COIL
SURFACE
AREA
(sq.m)
RATING
(kW)
HOT WATER
DRAW-OFF
(Litres ) to
40°C
HEATING
TIME
DIRECT
(MINS)
SOLAR
SURFACE
AREA
(sq.m)
NOMINAL
CAPACITY
(litres)
E = DIRECT
B = INDIRECT
170
E
NOTES:
1. Testing conformes to BS EN 12897 : 2006.
2. Direct heating times assume use of lower element only and auxillary cylinder volume being heated.
3. Coil primary ow rate of 15L/min with a ow temperature at 80°C ± 2°C.
1221
808 924 1.1
190 B
1372 865 925784 1085 1.1
120
0.61 14.7 132.5
126
210
E
1473
808 1183 1.1 1471099
210 B
1473 922 10951012 1186 1.1
120
0.68 15.0 136
260
E
1792
905 1498 1.1 1781384
300
E
2038
999 1749 1.1 2101624
250 B
1731 1066 12791143 1438 1.1
145
0.79 16.2 166
300 B
2038 1256 15921440 1752 1.1
175
0.79 18.8 181
HOT WATER
DRAW-OFF
(Litres ) to
40°C
202
161
231
276

Related product manuals