EasyManua.ls Logo

Sanyo PLUS Q50 - Cabinet Exploded View; Cabinet Components Breakdown

Sanyo PLUS Q50
19 pages
Print Icon
To Next Page IconTo Next Page
To Next Page IconTo Next Page
To Previous Page IconTo Previous Page
To Previous Page IconTo Previous Page
Loading...
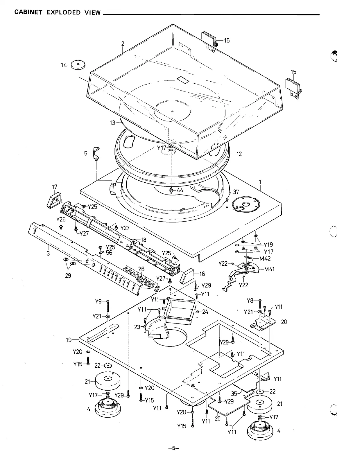
CABINET EXPLODED VIEW
- 5 -

Related product manuals