EasyManua.ls Logo

SCS Sentinel prim' OneGate 3 - Page 23

SCS Sentinel prim' OneGate 3
Print Icon
To Next Page IconTo Next Page
To Next Page IconTo Next Page
To Previous Page IconTo Previous Page
To Previous Page IconTo Previous Page
Loading...
23
EN
12V blinker
Remote controls 4 channels
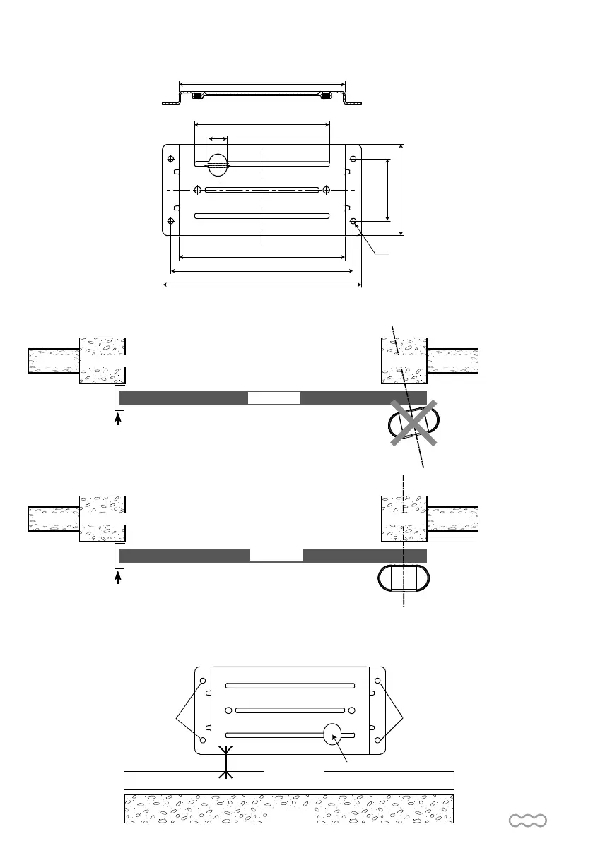
Engine support plate must be fixed at 5 cm from the gate :
You can use the delivery template to facilitate the installation.
320mm
260mm
176mm
120mm
384mm
352mm
320mm
25mm
35mm
10.5mm
Place the engine support plate to determine the locations of your holes.
Engine positioning must be strictly straight vs gate :
NO
YES
WALL
WALL
WALL
WALL
PILLAR
MECHANICAL STOPPER
MECHANICAL STOPPER
GATE
GATE
VUE DE DESSUS
Points de
fixation
5 cm
support
Points de
fixation
support
Portail
Pilier
Passage câble 230V
TOP VIEW
PILLAR
PILLAR PILLAR
Top View
Fixing
points
Gate
SHEAT 230V
Fixing
points
Pillar

Table of Contents

Related product manuals