EasyManua.ls Logo

Seca 286 - คื น ค่ า ที ตั งจากโรงงาน (รี เ ซ ็ ต (Reset)); เปลี ยนหน่ ว ยของนํ าหนั ก (หน่ ว ย (Unit)); เปลี ยนหน่ ว ยความสู ง (Hunit)

Seca 286
Print Icon
To Next Page IconTo Next Page
To Next Page IconTo Next Page
To Previous Page IconTo Previous Page
To Previous Page IconTo Previous Page
Loading...
40 •
การตงค่า "2" ทําให ีส
วนตางทีมากทีสุดระหวางคานําหนกทีแสดงกบค่า
จร
4. ยืนยนการเลอก
ระบบจะออกจากเมนโดยอตโนมัต
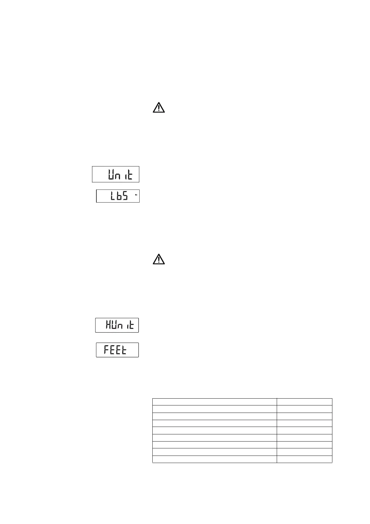
เปลียนหนวยของ
นําหน (หนวย (Unit))
าหรบเครืองช
ั
งทีไมไดรับการปรบเทยบ คุณจะสามารถเลอกหนวย (Unit) ี อง
การแสดงนําหนกได
ระว!
นตรายตอผ วย
เพือเป นการหลกเลียงการแปลความหมายทีไม่ถูกตอง งให แสดงและใช
ผล
การวดส
าหรบวตถประสงคทางการแพทยในหนวยเอสไอเท่า
นั (ําหนัก: โลกรัม, ความสูง: เมตร) อุปกรณบางรุ่นมทางเลอกในการ
แสดงผลการวดในหวยอื แต่ก็เปนฟงก
นเสรมเทาน
น
โปรดใช
ผลการวดในหวยเอสไอเทานน
การใช
ผลการวดทีไมได อยู่ในหนวยเอสไอ เปนความรบผดชอบของผ ใช
แตเพยงผ เดยว
1. ในเมน ให เลอก "หนวย" (Unit)
2. ยืนยนการเลอก
การตงคาปจจุบันจะแสดงขึ
3. เลอกหวย (Unit) ทีต องการแสดงนําหนัก:
โลกรัม (กก.)
ปอนด
(ปอนด)
4. ยืนยนการเลอก
ระบบจะออกจากเมนโดยอตโนมัต
เปลียนหนวยความสูง (HUnit) สามารถเลอกหนวย (HUnit) ทีตองการแสดงส
วนสงได
ระว!
นตรายตอผ วย
เพือเป นการหลกเลียงการแปลความหมายทีไม่ถูกตอง งให แสดงและใช
ผล
การวดส
าหรบวตถประสงคทางการแพทยในหนวยเอสไอเท่า
นั (ําหนัก: โลกรัม, ความสูง: เมตร) อุปกรณบางรุ่นมทางเลอกในการ
แสดงผลการวดในหวยอื แต่ก็เปนฟงก
นเสรมเทาน
น
โปรดใช
ผลการวดในหวยเอสไอเทานน
การใช
ผลการวดทีไมได อยู่ในหนวยเอสไอ เปนความรบผดชอบของผ ใช
แตเพยงผ เดยว
1. ในเมน ให เลอก "หนวย" (HUnit)
2. ยืนยนการเลอก
การตงคาปจจุบันจะแสดงขึ
3. เลอกหวยทีต องการแสดงนําหนัก:
เซนตเมตร (ซม.)
ตและนิว (
ฟุต:นิว)
4. ยืนยนการเลอก
ระบบจะออกจากเมนโดยอตโนมัต
นคาที ังจากโรงงาน (
เซ
(RESET))
สามารถคนคาทีตังจากโรงงานส
าหรบฟงก์ช
นตอไปนีได :
ft:in
ฟังก
นกังคาจากโรงงาน
างอตโนมัต (Autohold (AHOLd)) เป
เส
ยงส
ญญาณ (PrESS) เป
เส
ยงส
ญญาณ (HOLd) เป
เส
ยงส
ญญาณ (MEASr) เป
การหนวง (FIL) 0
างอตโนมัต (Autoclear (ACLr)) เป
การหกนําหนัก (Pre-Tare (Pt)) 0 กก.
ความสวางของไฟหนาจอ 50 %

Table of Contents

Other manuals for Seca 286

Related product manuals