EasyManua.ls Logo

Selco WF 230 Classic - Lock;Unlock; Κωδικοί Συναγερμών (Αλάρμ); Πίσω Πίνακας Ελέγχου; Πίνακας Υποδοχών

Selco WF 230 Classic
Print Icon
To Next Page IconTo Next Page
To Next Page IconTo Next Page
To Previous Page IconTo Previous Page
To Previous Page IconTo Previous Page
Loading...
261
751 Καταγραφή ρεύματος
Επιτρέπει την εμφάνιση της πραγματικής τιμής του
ρεύματος συγκόλλησης.
Επιτρέπει τη ρύθμιση του τρόπου εμφάνισης του
ρεύματος συγκόλλησης.
752 Καταγραφή τάσης
Επιτρέπει την εμφάνιση της πραγματικής τιμής της
τάσης συγκόλλησης.
Επιτρέπει τη ρύθμιση του τρόπου εμφάνισης της
τάσης συγκόλλησης.
755 Καταγραφή παροχής αερί
Επιτρέπει την εμφάνιση της πραγματικής
τιμής της
παροχής αερίου.
760 Καταγραφή ρεύματος (μοτέρ)
Επιτρέπει την εμφάνιση της πραγματικής τιμής του
ρεύματος (μοτέρ).
903 Διαγραφή προγραμμάτων
Επιλέξτε το πρόγραμμα που θέλετε, περιστρέφοντας
το encoder 1.
Διαγράψτε το πρόγραμμα που επιλέξατε, πατώντας
το πλήκτρο-encoder 2.
3.4 Lock/unlock
Επιτρέπει το μπλοκάρισμα όλων των ενεργειών ρύθμισης
στο πίνακα ελέγχου, μέσω μίας password ασφαλείας.
"LOCK"
Μπείτε στο set up, πατώντας το πλήκτρο encoder, για 5 του-
λάχιστον δευτερόλεπτα.
Επιλέξτε την παράμετρο που θέλετε (551).
Ενεργοποιήστε τη ρύθμιση της επιλεγμένης παραμέτρου,
πατώντας το πλήκτρο encoder.
Εισάγετε έναν αριθμητικό κωδικό (password), περιστρέφο-
ντας το encoder.
Επιβεβαιώστε την αλλαγή που κάνατε, πατώντας το
πλήκτρο
encoder.
"UNLOCK"
Αν εκτελεστεί μια οποιαδήποτε ενέργεια, όταν ο πίνακας
είναι μπλοκαρισμένος, εμφανίζεται μία σελίδα με ειδικές
ενδείξεις.
Μπείτε στις λειτουργίες του πίνακα ελέγχου: περιστρέψτε το
encoder και εισάγετε το σωστό αριθμητικό κωδικό.
3.5 Κωδικοί συναγερμών (αλάρμ)
E01, E02 Αλάρμ θερμικού
Σας συνιστούμε να μη σβήνετε τη διάταξη συγκόλ-
λησης, ενώ υπάρχει κάποια κατάσταση συναγερ-
μού. Όταν είναι αναμμένη, ο εσωτερικός ανεμιστή-
ρας παραμένει σε λειτουργία και ψύχει τα μέρη
που έχουν υπερθερμανθεί.
E08 Συναγερμός εμπλοκής μοτέρ
E10 Συναγερμός στοιχείου παροχής ισχύος
E13 Συναγερμός επικοινωνίας
E19 Συναγερμός διαμόρφωσης διάταξης
E20 Συναγερμός βλάβης σε μνήμη
E21 Συναγερμός απώλειας δεδομένων
E40 Συναγερμός τροφοδοσίας διάταξης
E43 Συναγερμός απουσίας ψυκτικού υγρού
E44 Συναγερμός απουσίας αερίου
E48 Συναγερμός απουσίας σύρματος
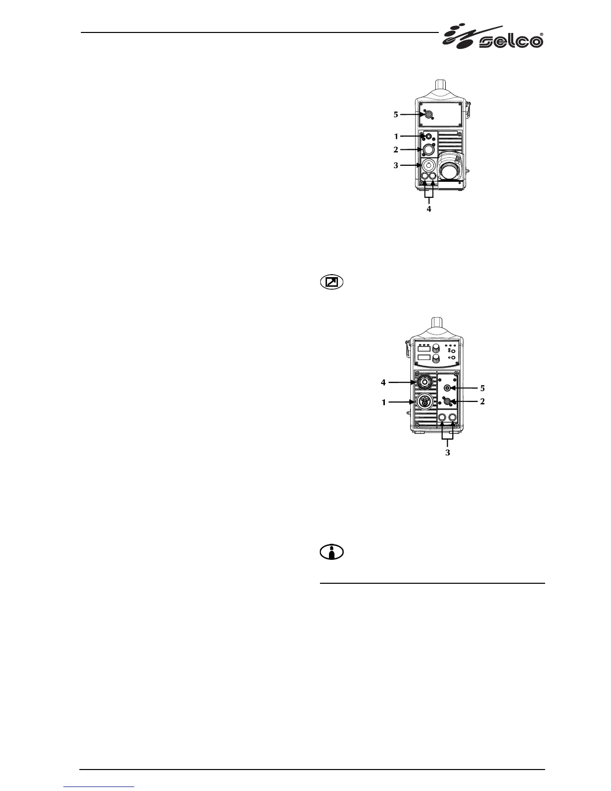
3.6 Πίσω πίνακας ελέγχου
1 Σύνδεση αερίου
2 Είσοδος καλωδίου σήματος (Δέσμη καλωδίων)
3 Είσοδος καλωδίου ισχύος (Δέσμη καλωδίων)
4 Είσοδος/έξοδος ψυκτικού υγρού
5 Εξωτερικές διατάξεις (RC)
(WF...Exclusive -
προαιρετικό)
3.7 Πίνακας υποδοχών
1 Υποδοχή σύνδεσης τσιμπίδας
Επιτρέπει τη σύνδεση της τσιμπίδας MIG.
2 Είσοδος καλωδίου σήματος (U/D)
(WF...Exclusive -
προαιρετικό)
3 Ρακόρ ψυκτικού υγρού
4 θετική υποδοχή ισχύος (MMA)
5
Ρυθμιστής ροής αερίου
4 AΞEΣOYAP
4.1 Γενικά (WF...Exclusive)
Με σύνδεση του τηλεχειριστηρίου στην ειδική υποδοχή, που
υπάρχει στις γεννήτριες Selco, ενεργοποιείται αυτόματα και
η λειτουργία του. Αυτή η σύνδεση μπορεί να γίνει ακόμα και
με την συσκευή αναμμένη.
Με το τηλεχειριστήριο RC συνδεδεμένο, ο πίνακας ελέγχου
της γεννήτριας παραμένει ενεργός και μπορείτε να κάνετε
οποιαδήποτε αλλαγή. Οι ρυθμίσεις που γίνονται από
τον
πίνακα ελέγχου της γεννήτριας εμφανίζονται και στο τηλεχει-
ριστήριο RC και αντίστροφα.

Table of Contents

Related product manuals