EasyManua.ls Logo

Serai 30F D - TEMPORARY INSTALLATION

Default Icon
10 pages
Print Icon
To Next Page IconTo Next Page
To Next Page IconTo Next Page
To Previous Page IconTo Previous Page
To Previous Page IconTo Previous Page
Loading...
INSTALLATION PROVVISOIRE TEMPORARY INSTALLATION PROVISORISCHE MONTAGE
KIT/30FD-39FD FED
DAL 1965
Pag. 4/10
C
90 mm
PM
PM
90 mm
580 mm (MT/30/2)
380mm (MT/38/1)
B
C
860 mm (MT/30/2)
660mm (MT/38/1)
B
PM
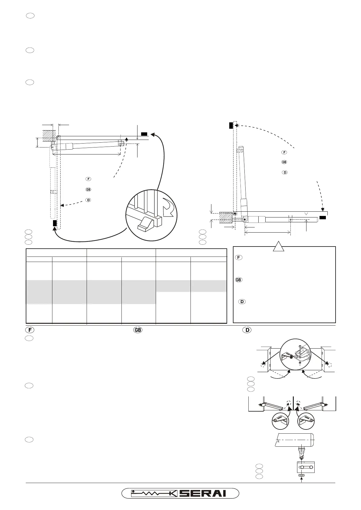
Set up the opening angle (a) and find out B, C, dimensions in the look-up table.
Dashed values are recommended (picture 4 and picture 5)
N.B. In case of outward clearing, the overall dimensions reduce the gate "opening". We advise the motor installation on the top side of
the gate.
IMPORTANT: if you do not respect the B and C dimensions the gate starts the opening with oscillations which may damage the brackets
and the motor.
D
Choisissez l'angle d'ouverture (a) et reperez les dimensions B, C, dans le tableau.
Nous vous conseillons les valeurs de la bande grise. (fig. 4 et fig. 5)
N.B. Dans le cas d'ouverture vers l'exterieur, l'encombrement des moteurs reduit la "lumiere" du portail. On conseille une installation des moteurs
dans la portie superieure du portail.
IMPORTANT: si on ne respecte pas les cotes B et C, le portail commence l'ouverture avec oscillations qui peuvent abimer les etriers et le moteur.
F
GB
OUVERTURE VERS
L’INTERIEUR
INWARDS
CLEARING
OEFFNUNG NACH
INNER
OUVERTURE VERS
L’EXTERIEUR
OUTWARDS
CLEARING
OEFFNUNG
NACH AUSSEN
Fig. 4
Picture 4
Bild 4
F
GB
D
Fig. 5
Picture 5
Bild 5
F
GB
D
Oeffnungswinkel (a) festlegen befestigungsmasse B, C, aus der tabelle entnehmen.
Wir empfehlen die masse im grauen feld (bild 4 und bild 5)
Anmerkung: falls das tor nach aussen sicht dreht, die oeffnung des tores sich kuerzt wegen des raumbedarfes des motores. In diesem fall,
empfehlen wir den motoren im hoeheren teil des tores zu installieren.
WICHTIG: wenn die abstaende B und C, die in der unteren tafel gezeigt sind, ncht respektiert werden, bewegt sich das tor schroff und mit starken
schwingungen, die den motor und die buegel beschaedigen koennen.
a = 90° a = 100° a = 110°
B C B C B C
180 105
170 115 160 95
160 118 150 105 130 120
150 130 140 120 120 130
140 140 130 130 110 140
130 150 120 135 110 150
120 160 110 145
110 167 100 155
100 176 90 165
90 185
LES ETRIERS PEUVENT CHANGER
DIMENSIONS SELON LES EXIGENCES
D'INSTALLATION, EN RESPECTANT
LES DIMENSIONS B ET C
THE BRACKETS CAN CHANGE
DIMENSIONS ACCORDING TO
NECESSITIES OF INSTALLATION,
RESPECTING B ANC C DIMENSIONS
DIE BUEGEL KOENNEN UMGESTELLT
WERDEN NACH DEN ERFORDERMISSEN
DER MONTIERUNG, MAN MUSS DIE
ABMESSUNGEN B UND C RESPEKTIEREN
!
Fermez manuellement le portail jusqu'au point d'arret.
montez les supports posterieurs et les moteurs sans les souder.(fig. 6)
determinez le point de soudure des supports anterieurs en approchant les moteurs aux vantaux.
Enlevez les moteurs.
Montez les supports anterieurs provvisoirement. Respectez les distances et les limites de course
du pivot mobile. Inserez le pivot mobile dans le support et bloquez avec ecrou.(fig. 7)
Shut the gate by hand precisely.
install the rear brackets and the motor-no soldering. ( 6)
determine the soldering point of the front brackets approaching the motors to the gate.
take out the motors.
Install the front brakets temporarly.
Respect the dimensions and the limit of stroke of the moving pivot. Insert the moving pivot
in the bracket and stop with nut. ( 7)
Schliessen sie das tor von hand.
Montieren sie die halterungen nur mit schrausser. (bild 6)
Bestimmen sie die genaue schweißstelle der vorderbuegel entfernen sie den motor vom fluegeltor.
Befestigen sie vorlaeufig die vorderbuegel an das tor aber respektieren sie den abstand und das
ende des laufes von dem mobilbolzen.
Reihen sie den mobilbolzen in der vorderbuegel ein und sperren sie mit der mutter. (bild 7)
picture
picture
F
GB
D
Fig. 7
Picture 7
Bild 7
F
GB
D
Fig. 6
Picture 6
Bild 6
F
GB
D

Related product manuals