EasyManua.ls Logo

Sharp AL-1217 - Automatic Exposure Adjustment

Sharp AL-1217
88 pages
Print Icon
To Next Page IconTo Next Page
To Next Page IconTo Next Page
To Previous Page IconTo Previous Page
To Previous Page IconTo Previous Page
Loading...
50
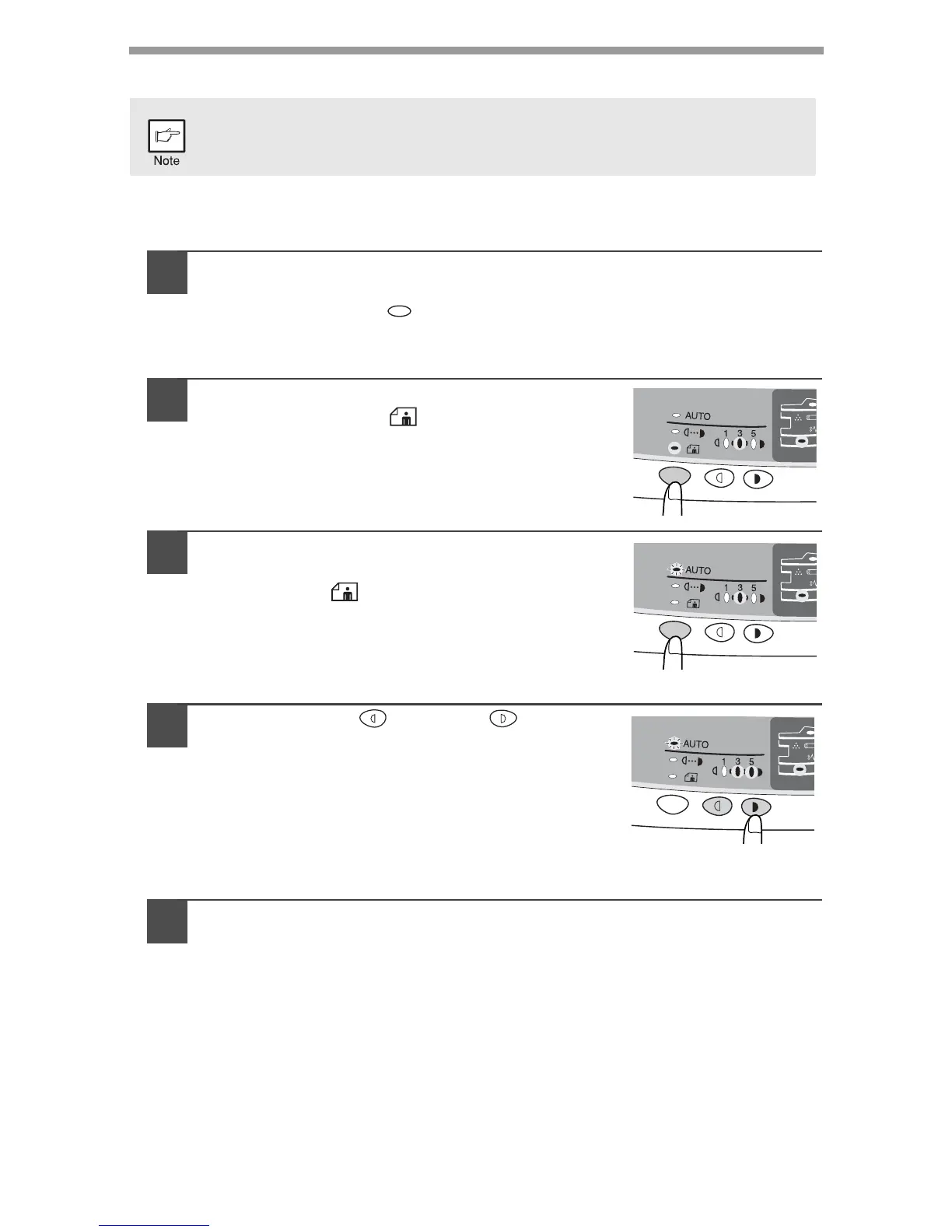
Automatic exposure adjustment
The automatic exposure level can be adjusted to suit your copying needs. This level is
set for copying from the original table and copying from the SPF respectively.
1
When adjusting the automatic exposure level for copying from
the SPF, place an original in the original feeder tray and make
sure that the SPF ( ) indicator lights up. When adjusting the
level for copying from the original table, make sure that no
original is left in the original feeder tray.
2
Press the exposure mode selector key to
select the PHOTO ( ) mode.
3
Press and hold down the exposure mode
selector key for approximately 5 seconds.
The PHOTO ( ) indicator will go out and
the AUTO indicator will begin to blink. One
or two light and dark indicators
corresponding to the automatic exposure
level which has been selected will light up.
4
Press the light ( ) or dark ( ) key to
lighten or darken the automatic exposure
level as desired. If exposure level 2 is
selected, the two left-handmost indicators
for that level will light up simultaneously.
Also, if level 4 is selected, the two right-
handmost indicators for that level will
light up simultaneously.
5
Press the exposure selector key. The AUTO indicator will stop
blinking and light up steadily.
This automatic exposure level will remain in effect until you change it
again by this procedure.

Table of Contents

Related product manuals