EasyManua.ls Logo

Sharp CD-BA1700H - PROGRAMMABLE CD SELECTIONS; APMS Track Programming

Sharp CD-BA1700H
36 pages
Print Icon
To Next Page IconTo Next Page
To Next Page IconTo Next Page
To Previous Page IconTo Previous Page
To Previous Page IconTo Previous Page
Loading...
14
(Continued)
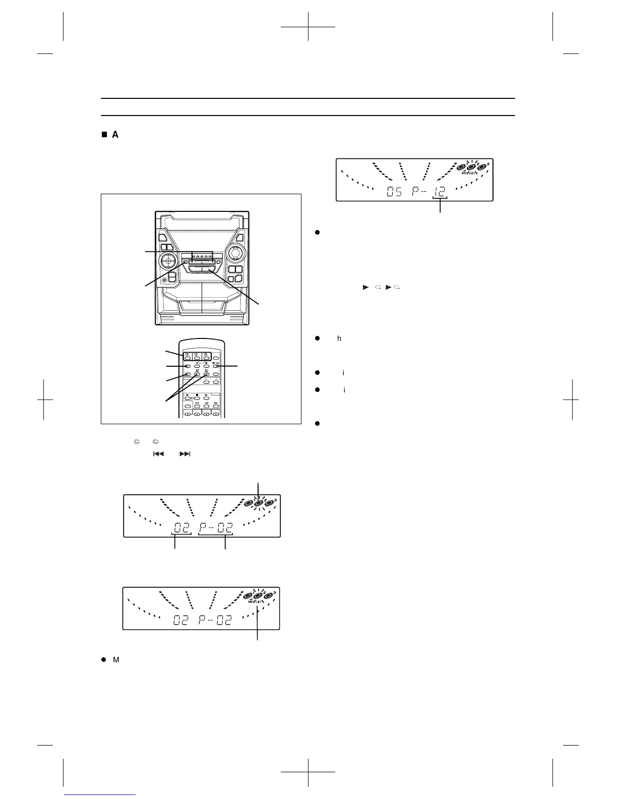
APMS (Automatic Programmable Music
Selector)
You can playback the tracks on the CDs in the disc 1 - 3
positions in any order. By specifying the disc numbers from
1 to 3, and the track numbers from 1 to 99, you can choose
up to 32 selections for playback in the order you like.
1
When in the stop mode, use the disc number but-
tons ( 1 - 3) to select the desired disc number.
2
Press the or button to select the desired
track.
3
Press the MEMORY/SET (MEMORY) button.
"MEMORY" will appear to show that the programmed
sequence is being entered into memory.
4
Repeat steps 1 - 3 for any other tracks. Up to 32
tracks can be programmed.
If you make a mistake whilst in the programming mode
("MEMORY" will appear) or if you wish to change your
selections, the programmed tracks can be cleared by
pressing the CLEAR button on the remote control. The
tracks will be cleared sequentially, starting with the last
track entered.
5
Press the / ( ) button to start playback of pro-
grammed selections.
To clear the programmed selections:
Press the CLEAR button on the remote control whilst the
disc is stopped.
Each time the button is pressed, one track will be
cleared, beginning with the last track programmed.
Notes:
Opening the disc tray automatically cancels the pro-
grammed sequence.
Even if you press the ON/STAND-BY button to enter the
stand-by mode or the function is changed from CD to
some other function, the programmed selections will not
be cleared.
During APMS operation, random play is not possible.
Selected disc number
Selected track number Playback order
MEMORY
2
3
5
CLEAR
1
3
5
2
Total number of tracks

Related product manuals