EasyManua.ls Logo

Sharp CD-SW330 - Page 124

Sharp CD-SW330
132 pages
Print Icon
To Next Page IconTo Next Page
To Next Page IconTo Next Page
To Previous Page IconTo Previous Page
To Previous Page IconTo Previous Page
Loading...
CD-SW330
19
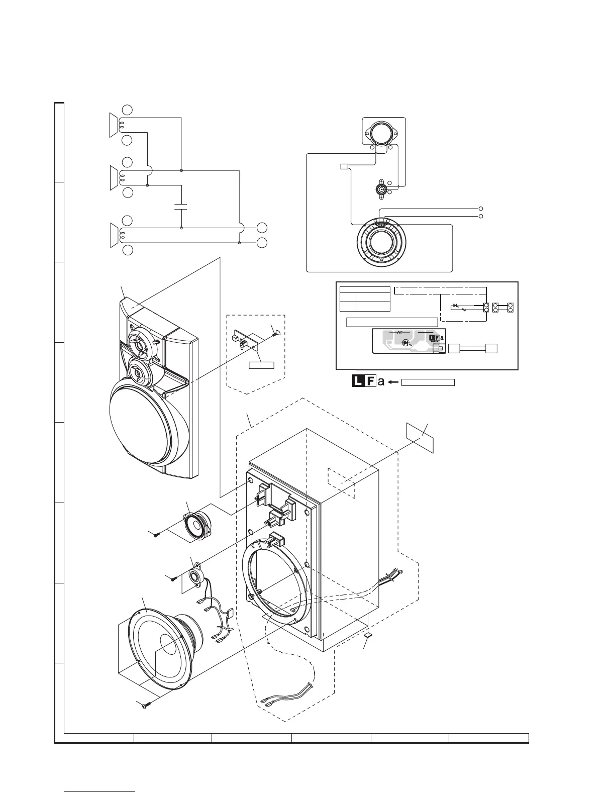
[12] FRONT SPEAKER BOX PARTS
A
B
C
D
E
F
G
H
1
23456
2.2uF 250V
+
-
-
+
-
+
+
-
901
SP3,4
908x2
902
903
906x2
904
905x4
907x4
906x2
SP1,2
+
-
+
+
+
-
-
-
SUPER
TWEETER
WOOFER
TWEETER
SP2(R-CH)
SP1(L-CH)
SP4(R-CH)
SP3(L-CH)
C1,2
Capacitor
BK
BK
RD
BK
SUPER TWEETER
RD
BK
SP4(R-CH)
SP3(L-CH)
TWEETER
BL
Capacitor
C1,2
SP2(R-CH)
SP1(L-CH)
WOOFER
PWB-D
180
FRONT SPEAKER LED PWB-D
FRONT SPEAKER LED PWB-D
2
1
2
1
2
1
SDPB40F2A
2
1
2
1
2
1
LED703
(R-CH)
A7
07
PNC
)H
C
-L(
A807PNC
)
HC-R(
R752B(R-CH)
BK
GY
BK
GY
LED702
(L-CH)
R752A(L-CH)
R752A
(L-CH)
LED702
(L-CH)
CNP707A
(L-CH)
R752B
(R-CH)
LED703
(R-CH)
CNP708A
(R-CH)
Lead-free solder indication
Auf der FRONT SPEAKER LED PWB wird bleifreies Lot verwendet.
Anleitungen und Vorsichtsmaßnahmen sind in "Vorsichtsmaßnahmen
beim Umgang mit bleifreiem Lot" enthalten.
FARBTABELLE
GY GRAU
SCHWARZ
BK

Related product manuals