EasyManua.ls Logo

Sharp CD-SW330 - Test Mode Operation Guide

Sharp CD-SW330
132 pages
Print Icon
To Next Page IconTo Next Page
To Next Page IconTo Next Page
To Previous Page IconTo Previous Page
To Previous Page IconTo Previous Page
Loading...
CD-SW330
2 – 2
[2] Test Mode
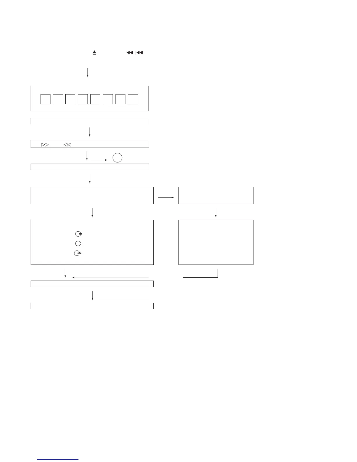
Setting the test mode
During stand-by mode, press GAME/VIDEO button
while pressing down the button and button.
then, press the CD button to enter the test mode.
IL isn’t done
OPEN/CLOSE operation is using manual. IL isn’t done
<< >>,<< >>buttons make pick's slide possible.
IL isn’t done
to page 2-3
<<PLAY>> key input.
C D T E S T
A
Do TOC IL. Do normal play.
When these following key is input into PLAY key, track num-
ber can be appoint directly.
<<MEMORY>>
key input.
<< 1>> key: Track 4
<< 2>> key: Track 9
<< 3>> key: Track 15
Adjustment result automatically will
display as below for each 2 sec:
a) "FOF_XXXX"
b) "TOF_XXXX"
c) "TBAL_XX"
d) "TGAN_XX"
f) "FGAN_XX"
g) "RFLS_XX"
––––––––
<<STOP>> key input.
STOP
Explanation:
a) Focus off set = "FOF_XXXX"
b)Tracking off set = "TOF_XXXX"
c)Tracking balance = "TBAL_XX"
d)Tracking Gain = "TGAN_XX"
f) Focus Gain = "FGAN_XX"
g) RF level shift = "RFLS_XX"
VOL — Last memory
P. G EQ F LAT
X-BASS — OFF
To cancel : Power OFF

Related product manuals