EasyManua.ls Logo

Sharp ER-A180 - Multiplication Entries; Single Item Cash Sale (SICS) Entry

Sharp ER-A180
48 pages
Print Icon
To Next Page IconTo Next Page
To Next Page IconTo Next Page
To Previous Page IconTo Previous Page
To Previous Page IconTo Previous Page
Loading...
13
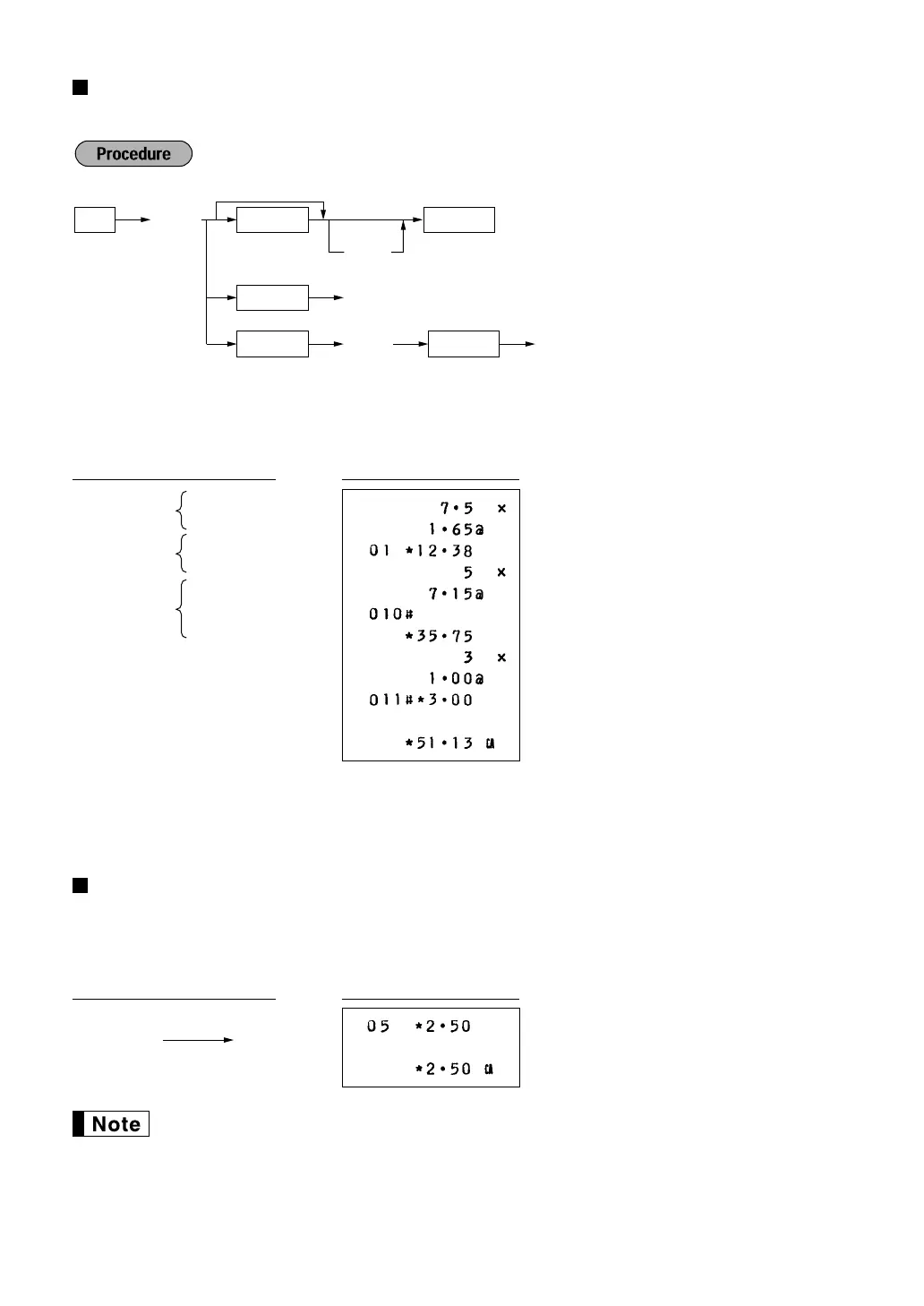
Multiplication entries
Use this feature when you sell a large quantity of items or need to enter quantities that contain decimals.
*To shift the department key, press the
department shift key before pressing
the department key. (ER-A180 only)
• Q'ty: Up to three digits integer + three digits decimal or four digits integer + two digits decimal
• Unit price: Less than a programmed entry digit limit
• Q'ty x unit price: Up to seven digits
Single item cash sale (SICS) entry
• This function is useful when a sale is for only one item and is for cash; such as a pack of cigarettes. It is
applicable only to those departments programmed as SICS or to their associated PLUs or subdepartments.
• The transaction is finalized as soon as you press the department key or
Ö
key.
If an entry to a department or PLU/subdepartment set for SICS follows the ones to departments or
PLUs/subdepartments not set for SICS, it does not finalize and results in a normal sale.
For finishing
the transaction
250
û
PrintKey operation example
Subdepartment
entry
PLU entry
Department
entry
7 . 5
165 ¯
5
10 Ö
3
100 å
11 Ö
É
PrintKey operation example
Ö
Unit price
PLU code
å
Unit price
Ö
PLU code
Q'ty Dept. key
When you use a programmed unit price
Ó
*

Related product manuals