EasyManua.ls Logo

Sharp ER-A180 - Displaying Subtotals; Finalization of Transaction; Cheque or Credit Sale; Computation of Vat;Tax

Sharp ER-A180
48 pages
Print Icon
To Next Page IconTo Next Page
To Next Page IconTo Next Page
To Previous Page IconTo Previous Page
To Previous Page IconTo Previous Page
Loading...
14
The subtotal is displayed by pressing the
Ñ
key. When you press it, the subtotal of all entries which have
been made is displayed and the symbol “ ” will light up in the display.
If you want to print the subtotal when you press the
Ñ
key, change the setting by programming.
Refer to “Selection of the subtotal printing” (page 31).
Cheque or credit sale
Cheque sale
Press the
'
key at the end of the transaction. The amount tendered can be entered like a cash sale and the
change due is displayed.
*The amount tendered: Less than
programmed entry digit limit
Credit sale
Press the
î
key at the end of the transaction. The amount tendered cannot be entered.
*The total sales amount: Less than
programmed entry digit limit
Mixed-tender sale
You can perform mixed-tendering of cheque and cash, cash and credit, and cheque and credit.
VAT/ tax system
The machine may be programmed for the following six tax systems by your dealer.
Automatic VAT 1-3 system (This is the factory default system)
This system, at settlement, calculates VAT for taxable 1 through 3 subtotals by using the corresponding
programmed rate.
Automatic tax 1-3 system
This system, at settlement, calculates taxes for taxable 1 through 3 subtotals by using the corresponding
programmed rate, and also adds the calculated taxes to those subtotals, respectively.
Computation of VAT/tax
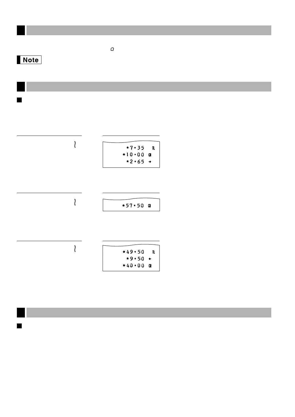
4
Ñ
950
É
î
PrintKey operation example
Ñ
î
PrintKey operation example
Ñ
1000
'
PrintKey operation example
Finalization of transaction
3
Displaying subtotals
2

Related product manuals