EasyManua.ls Logo

Sharp ER-A180 - Programming for Miscellaneous Keys

Sharp ER-A180
48 pages
Print Icon
To Next Page IconTo Next Page
To Next Page IconTo Next Page
To Previous Page IconTo Previous Page
To Previous Page IconTo Previous Page
Loading...
27
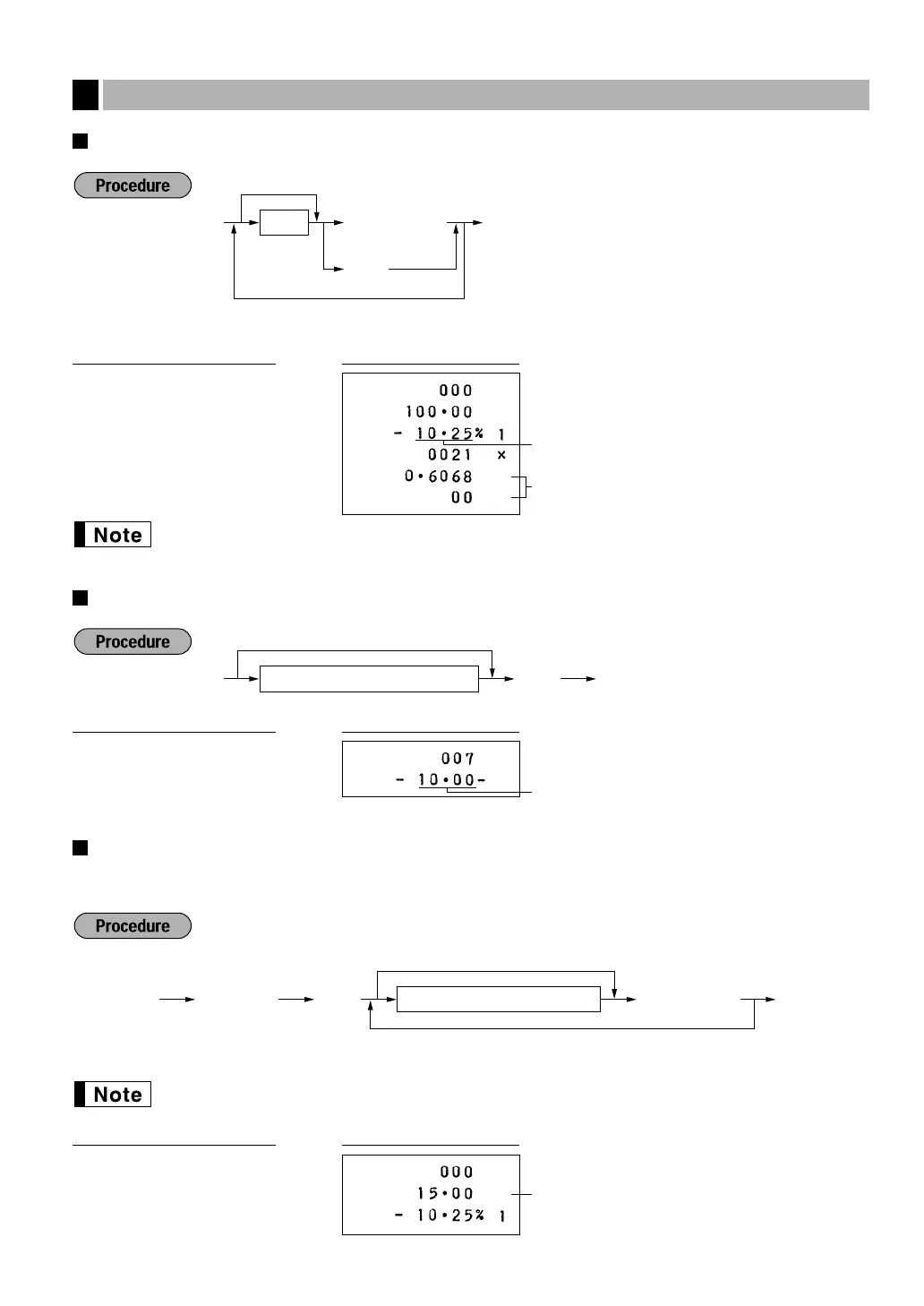
Programming the rate (
%
,
e
)
*: Rate
0.00 — 100.00 (% rate)
0.000000 — 999.999999 (Currency
exchange rate)
You must use a decimal point when setting rates that are fractional.
Programming the discount key amount (
-
)
Programming the percent rate limitation (
%
)
You can program the upper limit of percent rates for percent entries. Percent entries that exceed the upper limit
may be overridden in the MGR mode.
10.00% can be entered as
10
or
10.00
. The
.
key is needed only for
fractional entry.
Percentage limit
Ñ
10
15
.
00
É
PrintKey operation example
Ñ 10
Percentage limit (0.00 -100.00)
É
To program zero
To program for another percent key
or
∞§
Discount amount
1000
-
É
PrintKey operation example
Discount amount (max. six digits)
É-
To program zero
Percent rate
Currency exchange rate (0.606800)
10
.
25
0
.
6068
e
É
PrintKey operation example
*Rate or
e
ɧ
To program another rate
To program zero
Programming for miscellaneous keys
4

Related product manuals