EasyManua.ls Logo

Sharp FO-71 /51/11 - Quick Reference Guide

Sharp FO-71 /51/11
50 pages
Print Icon
To Next Page IconTo Next Page
To Next Page IconTo Next Page
To Previous Page IconTo Previous Page
To Previous Page IconTo Previous Page
Loading...
1 8
FO-71TH/UX-61TH/GQ-56TH/FO-51TH
UX-41TH/GQ-31TH/UX-21TH/FO-11TH/GQ-11TH
Normal Dialing
1. Lift the handset or press .
2. Dial the fax number.
3. Wait for the reception tone (if a person answers, ask them to press their Start
key).
4. Press .
Rapid Key Dialing
Press the appropriate Rapid Key. Transmission will begin automatically.
Speed Dialing
1. Press .
2. Enter 2-digit Speed Dial number.
3. Press .
Direct Keypad Dialing
1. Dial the fax number.
2. Press .
[5] Quick reference guide
SPEAKER
SPEED
DIAL
START
START
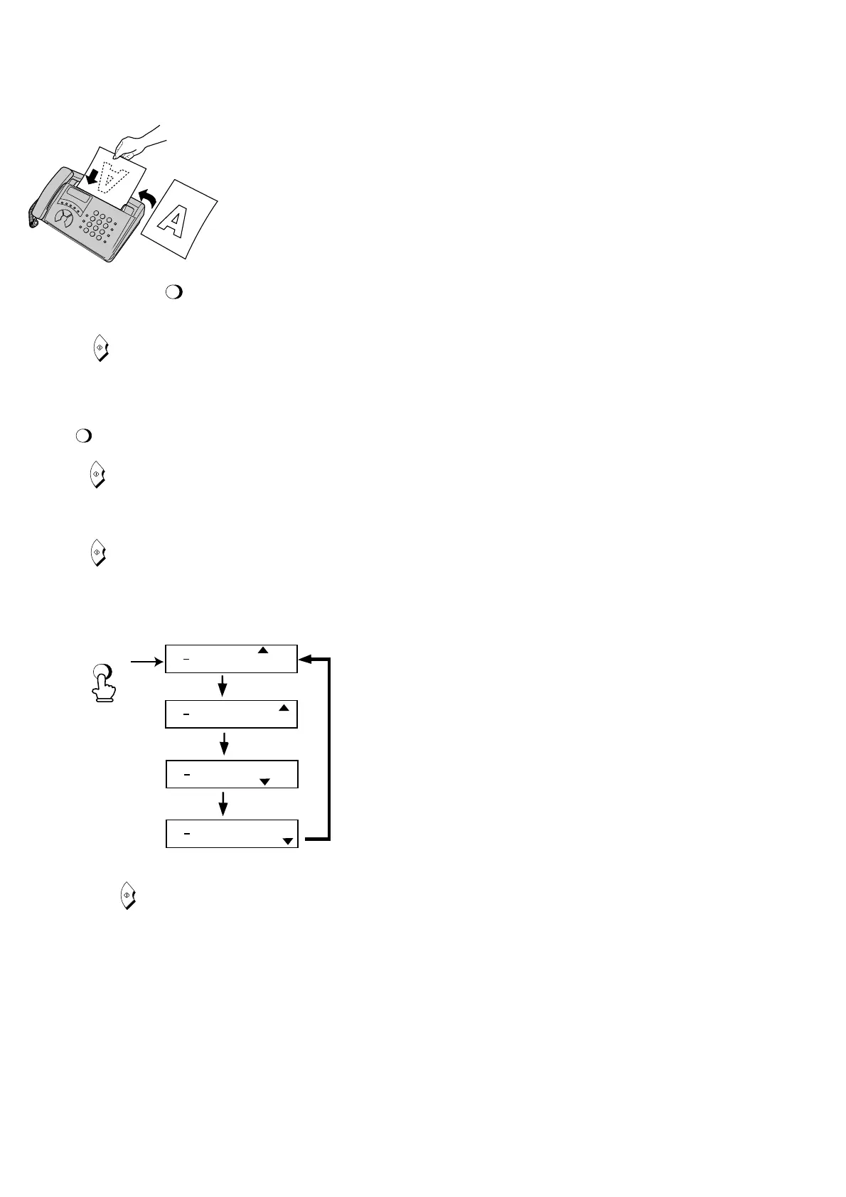
Place your document (up to 5 pages) face
down in the document feeder.
SENDING FAXES
START
FAX
TEL
FAX
TEL
05 NOV 10:30
A.M.
TEL/FAX
A.M.
TEL/FAX
05 NOV 10:30
FAX
TEL
FAX
TEL
05 NOV 10:30
A.M.
TEL/FAX
A.M.
TEL/FAX
05 NOV 10:30
RESOLUTION/
RECEPTION MODE
TEL mode: Answer all calls (even faxes) by picking up the handset. To begin fax
reception, press .
FAX mode: The fax machine automatically answers and receives faxes.
TEL/FAX mode: The fax machine automatically answers and receives faxes. Voice
calls (including manually dialed fax transmissions) are signalled by a special ring-
ing sound.
A.M. mode: Select this mode when an answering machine is connected to the fax
and the answering machine is turned on.
RECEIVING FAXES
Press the RESOLUTION/RECEPTION MODE key until the arrow in the display
points to the desired reception mode (make sure the document feeder is empty).
START

Related product manuals