EasyManua.ls Logo

Sharp R-3A53 - Wiring Diagrams and Circuits

Sharp R-3A53
47 pages
Print Icon
To Next Page IconTo Next Page
To Next Page IconTo Next Page
To Previous Page IconTo Previous Page
To Previous Page IconTo Previous Page
Loading...
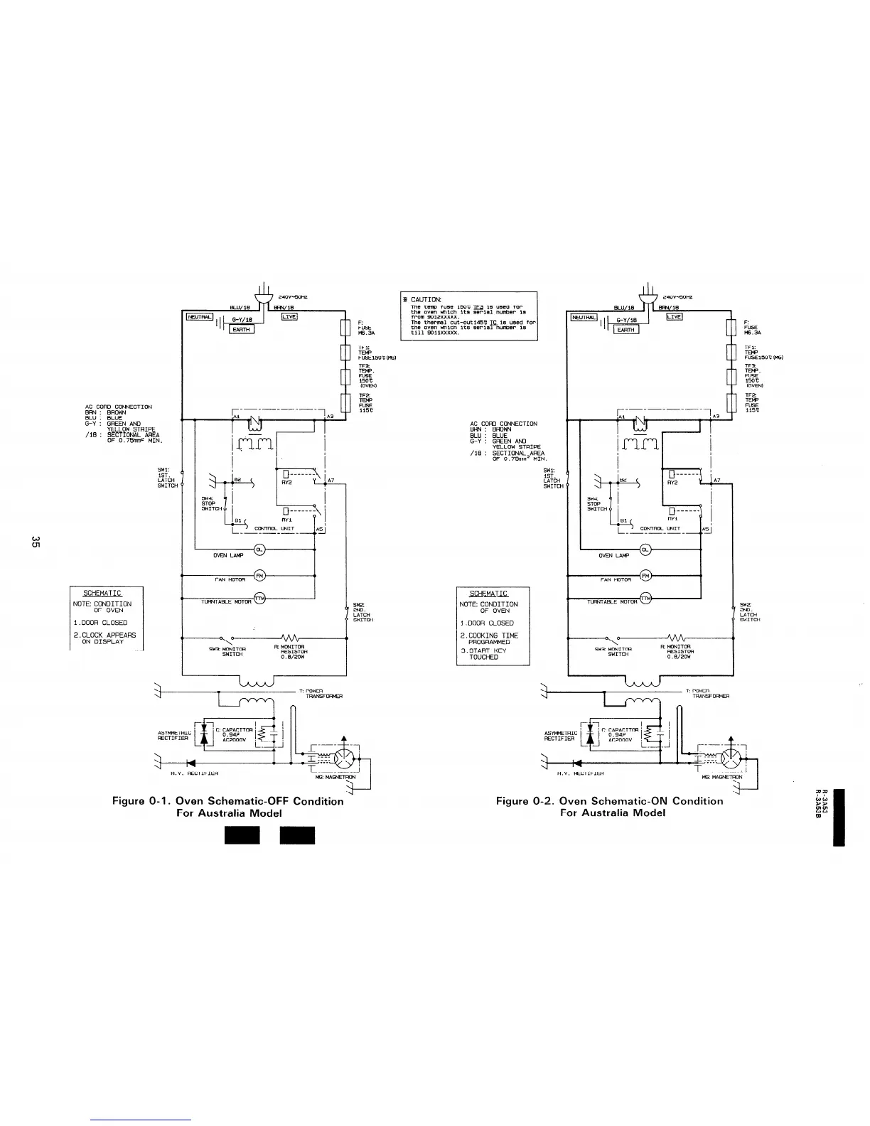
AC CORD CONNECTION
BRN : BROWN
BLU : BLUE
G-Y :
GREEN AND
YELLOW STRIPE
/lB : SECTIONAL AREA
OF 0.75mm2 MIN.
sw1:
1ST.
LATCH
SWITCH
NOTE: CONDITION
l.DOOR CLOSED
2.CLOCK APPEARS
ON DISPLAY
G-4
240V+OHz
TFI:
ELOC (MG)
TFJ:
EG.
15oc
(OVEN)
0 0
FAN MOTOR
0
I
SW2
%H
SWITCH
,b 0
SW3 MONITOR
RMONITOR
SWITCH
H.V. RECTIFIER
L-----J
MGZ MAGNETRON
Figure 0- 1. Oven Schematic-OFF Condition
For Australia Model
% CAUTION:
The temp fuse 15OC m is used for
the oven which its serial nu&er is
from 9012XxXxX.
The thermal cut-out143 E Is used for
the oven which its serial number is
till 9011xxxxx.
SCHEMATIC
NOTE: CONDITION
OF OVEN
3.DOOR CLOSED
2.COOKING TIME
PROGRAMMED
3.START KEY
TOUCHED
m
TFl:
ELiO, MG)
TF3
FEE
15OC
(OVEN)
L
-T&-v-t
“^“.“.“v
1\-I
SW3 MONITOR
R MONITOR
SWITCH
FEET
I
ASYMaTRIC
RECTIFIER
T: POWW
TFIANSFOF+iEFl
IA
17
H.V. RECTIFIER
TF2
TEbiJ
FUSE
115c
SW2
?!%H
SWITCH
Figure O-2. Oven Schematic-ON
Condition
For Australia Model

Table of Contents

Related product manuals