EasyManua.ls Logo

Sharp XL-UR14H - Page 202

Sharp XL-UR14H
Print Icon
To Next Page IconTo Next Page
To Next Page IconTo Next Page
To Previous Page IconTo Previous Page
To Previous Page IconTo Previous Page
Loading...
2012/ October/ 17
10_XL-UR14H_OM_TUR.fm
TR-9
CD veya MP3/WMA diski dinlenmesi (devamı)
Oynatmak için istediğiniz sırada 32'ye kadar parça seçebilirsiniz.
Programlanmış oynatma modunu iptal etmek için:
Durma modundayken ve “MEMORY” işareti görünüyorken
yeniden uzaktan kumandadaki ğmesine basın.
“MEMORY” işareti kaybolur ve programlanmış tüm içerik
silinir.
Programa parça eklenmesi:
Bir program daha önce kaydedilmişse "MEMORY" işareti
görünür. Parça eklemek için 1- 4. adımları takip edin. Yeni
parçalar bir önceki programın son parçasından sonra
kaydedilir.
Oynatmak için istediğiniz sırada 32'ye kadar parça seçebilirsiniz.
Notlar:
Bir disk çıkarıldığında program otomatik olarak iptal
olur.
Bekleme moduna girmek için ON/STAND-BY düğmesine
basar veya işlevi CD'den başka bir işleve değiştirirseniz
programlanmış olan seçimler silinir.
Program kullanımı esnasında rasgele oynatmak mümkün
değildir.
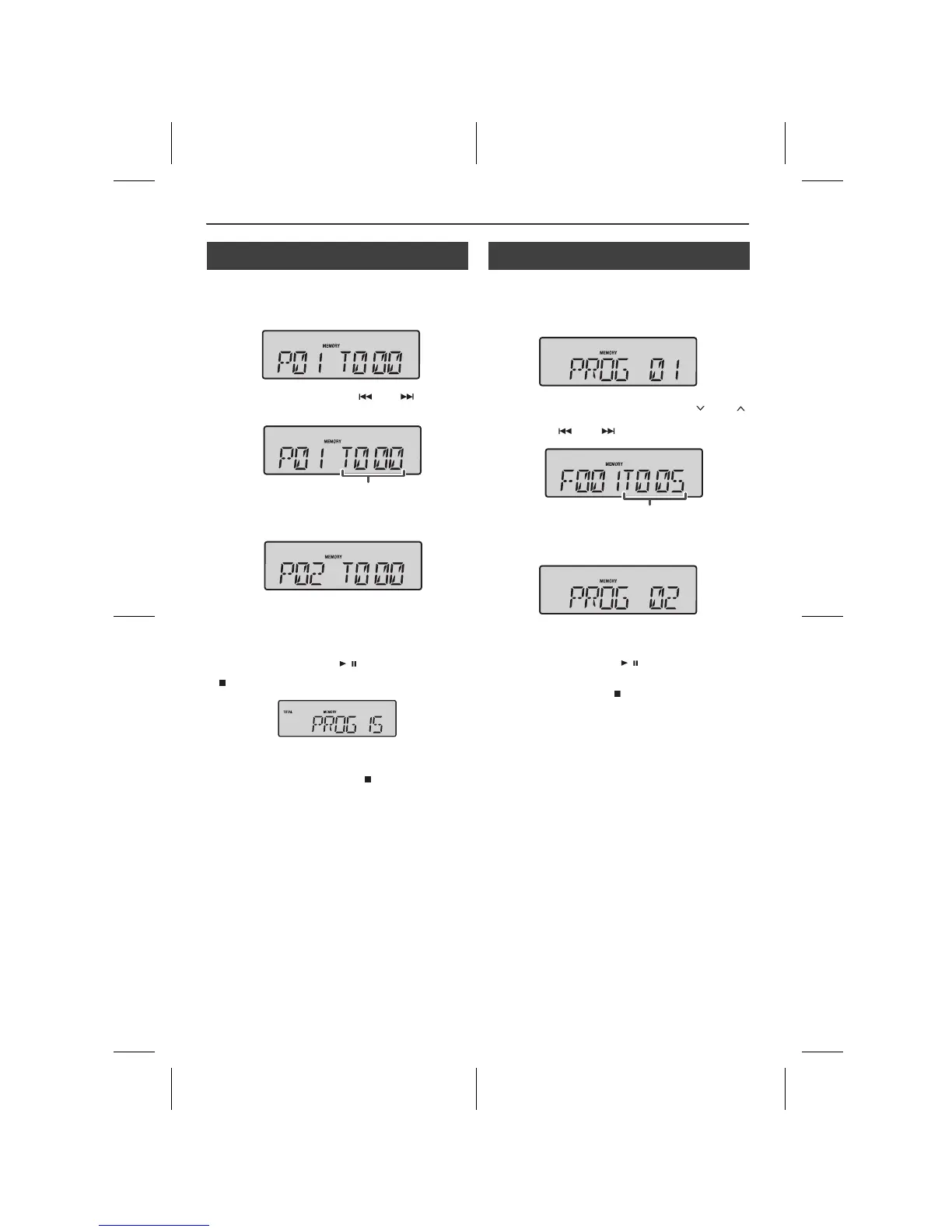
Programlanmış oynatma (klasör modu
kapalı durumdayken CD veya MP3/WMA)
1
Durma modundayken programlama kayıt moduna girmek
için uzaktan kumandadaki MEMORY düğmesine basın.
2 İstediğiniz parçayı seçmek için veya ğmesine
basın.
3
Parça numarasını kaydetmek için MEMORY düğmesine
basın.
4 Diğer parçalar için adım 2 - 3'ü tekrarlayın. 32'ye kadar
parça programlanabilir. Bir hata yaparsanız yanlış
parçayı seçmek için üst üste MEMORY düğmesine
basın ve sonrasında (CLEAR)/DISP düğmesine basın.
5 Oynatmaya başlamak için / ğmesine basın.
6
ğmesine basın. Hafızadaki toplam sayı görüntülenir.
Seçilen parça numarası
Programlanmış oynatma (klasör modu
ık durumdayken MP3/WMA)
1
Durma modundayken programlama kayıt moduna girmek
için uzaktan kumandadaki MEMORY düğmesine basın.
2 İstediğiniz klasörü seçmek için PRESET ( veya )
ğmesine basın ve sonrasında istediğiniz parçayı
seçmek için veya ğmesine basın.
3
Parça numarasını kaydetmek için MEMORY düğmesine
basın.
4 Diğer parçalar için 2 – 3. adımları tekrarlayın. En fazla
32 parça programlanabilir.
5 Oynatmaya başlamak için / ğmesine basın.
6 Programlanmış oynatma esnasında, programlanmış
oynatmayı durdurmak için ğmesine basın. Hafızadaki
toplam sayı görünür.
Seçilen parça numarası

Table of Contents

Related product manuals