EasyManua.ls Logo

SICK UE410-2RO - Page 31

SICK UE410-2RO
200 pages
Print Icon
To Next Page IconTo Next Page
To Next Page IconTo Next Page
To Previous Page IconTo Previous Page
To Previous Page IconTo Previous Page
Loading...
Prerequisites
T
he module can only be operated with a main module.
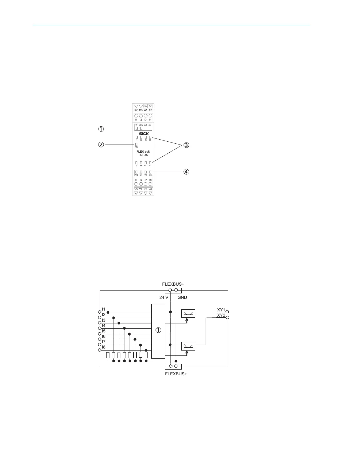
I/O module FX3-XTDS
T
he voltage supply for the internal logic and the test outputs is provided via the system
plug and the internal FLEXBUS+ bus.
The voltage supply of the outputs Y3 to Y6 of the FX3-XTDS must be provided directly
via A1/A2 on the respective module.
Figure 12: I/O module FX3-XTDS
1
2 LEDs for test outputs or non-safe outputs
2
MS LED (Module St
atus)
3
8 input LEDs
4
4 output LEDs
Further topics
"C
onstruction and function", page 17
3.4.8.1 Internal circuitry
Figure 13: Internal structure of the FX3-XTDS – safety inputs and test outputs
1
Internal logic
PRODUCT DESCRIPTION 3
8012478/1IG6/2023-02-24 | SICK O P E R A T I N G I N S T R U C T I O N S | Flexi Soft Modular Safety Controller
31
Subject to change without notice

Table of Contents

Related product manuals