EasyManua.ls Logo

Siemens 7KE85 - Processing Quality Attributes; Overview

Siemens 7KE85
490 pages
Print Icon
To Next Page IconTo Next Page
To Next Page IconTo Next Page
To Previous Page IconTo Previous Page
To Previous Page IconTo Previous Page
Loading...
Processing Quality Attributes
Overview
The IEC 61850 standard defines certain quality attributes for data objects (DO), the so-called Quality. The
SIPROTEC 5 system automatically processes some of these quality attributes. In order to handle different appli-
cations, you can influence certain quality attributes and also the values of the data objects on the basis of
these quality attributes. This is how you can ensure the necessary functionality.
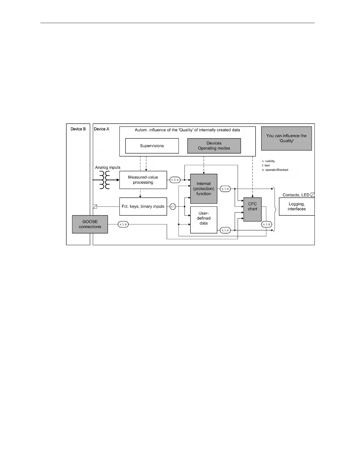
The following figure describes roughly the general data flow within a SIPROTEC 5 device. The following figure
also shows at which points the quality can be influenced. The building blocks presented in the figure are
described in more detail in the following.
[loquali1-090212-02.tif, 2, en_US]
Figure 3-23 Data Flow within a SIPROTEC 5 Device
Supported Quality Attributes
The following quality attributes are automatically processed within the SIPROTEC 5 system.
Validity using the values
good
or
invalid
The Validity quality attribute shows if an object transferred via a GOOSE message is received (valid,
invalid) or not received (invalid). The
invalid
state can be suppressed in the receiver device by also
setting a substitute value for the object that is not received (see 3.3.2 Quality Processing/Affected by the
User for Received GOOSE Values). The substitute value is forwarded to the functions.
If the device receives one of these values, it is replaced by the
invalid
value and thus processed further
as
invalid
.
If one of the detailed quality attributes (detailQual) has the value
TRUE
, then Validity is set to the
invalid
value, unless this was already done at the transmitter end.
Test using the values
TRUE
,
FALSE
The Test quality attribute indicates to the receiver device that the object received via a GOOSE message
was created under test conditions and not operating conditions.
3.3
3.3.1
System Functions
3.3 Processing Quality Attributes
SIPROTEC 5, Fault Recorder, Manual 67
C53000-G5040-C018-5, Edition 11.2017

Table of Contents

Related product manuals