EasyManua.ls Logo

Siemens SIDOOR AT12 - Assembly Suggestion; A.6 Assembly Suggestion

Siemens SIDOOR AT12
48 pages
To Next Page IconTo Next Page
To Next Page IconTo Next Page
To Previous Page IconTo Previous Page
To Previous Page IconTo Previous Page
Loading...
Appendix
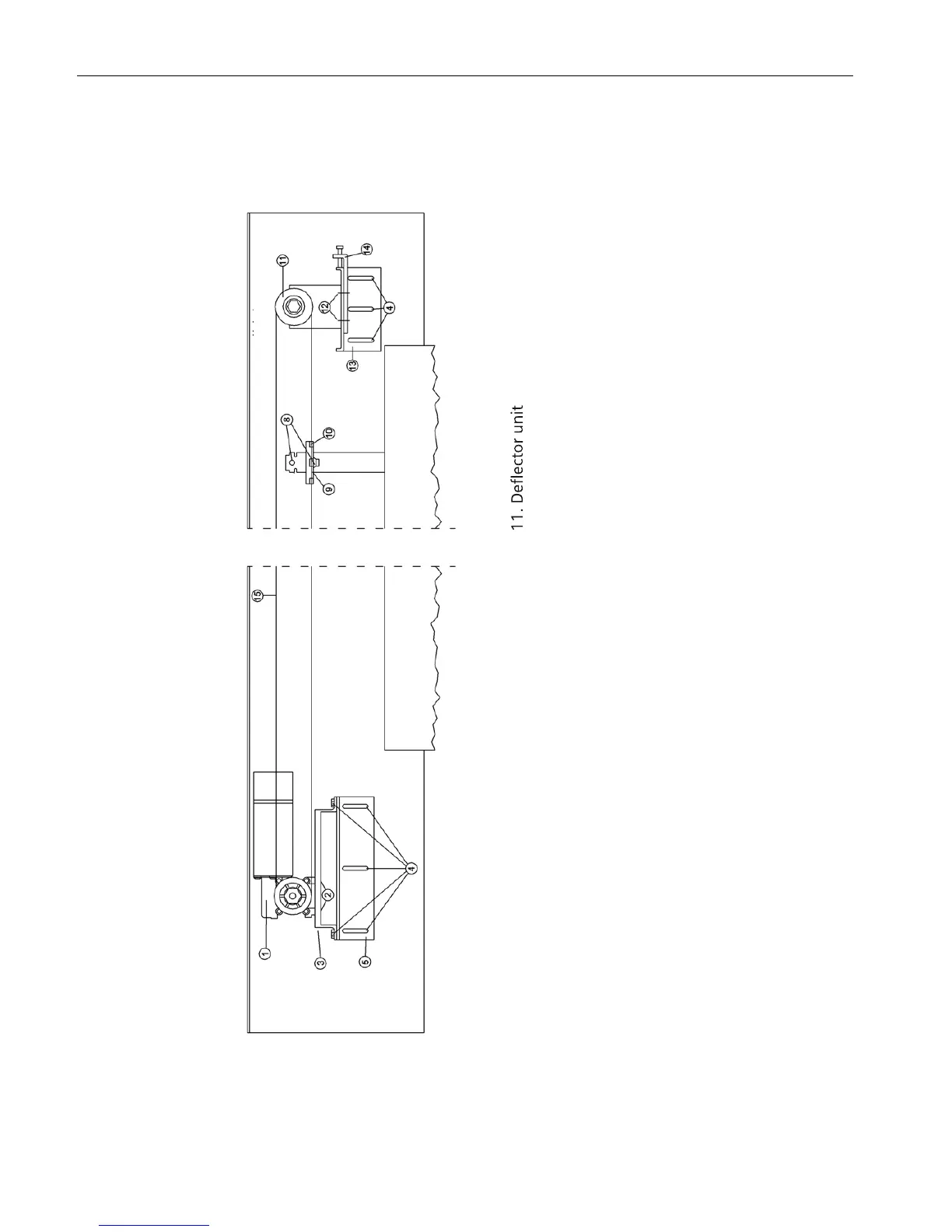
A.6 Assembly suggestion
Elevator door drive AT12
42 Manual, 02/2012, A2B00086683A-04
A.6 Assembly suggestion
1. Geared motor 10. Terminal board
2. 4 M5x10 hexagonal safety bolts
3. Motor mount 12. 2 M6x12 hexagonal bolts with plain washers
4. 10 M6x16 hexagonal safety bolts 13. Mounting bracket for tensioning device
5. Motor mounting bracket 14. Tensioning lug for tensioning device
8. 2 M6x12 locking hexagonal safety bolts for door clutch holder 15. Toothed belt (4 m standard length)
9. Holder of door clutch holder
GRRU
SDQHO
RSHQ GRRU !FORVHG
Figure A-5 Assembly suggestion

Other manuals for Siemens SIDOOR AT12

Related product manuals