EasyManua.ls Logo

Siemens SINEC L2 - Page 155

Siemens SINEC L2
224 pages
Print Icon
To Next Page IconTo Next Page
To Next Page IconTo Next Page
To Previous Page IconTo Previous Page
To Previous Page IconTo Previous Page
Loading...
S5-95U, SINEC L2 Data Transmission by Accessing Layer 2 Services
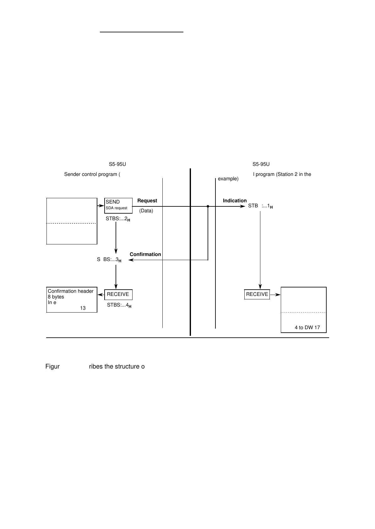
8.5 Sending Data to a Station (SDA Service)
The SDA (Send Data with Acknowledge) layer 2 service is used if an active station is to send data
to an active or passive station.
Data transmission schematic ( Figure 8-6):
The request (header + net data to be transmitted) in the flag or data area is sent with L2-SEND
(= request an layer 2).
The 'Receive" status byte informs the receiver that an indication has arrived.
The receiver fetches the indication (header + net data received) with L2-RECEIVE.
The 'Send' status byte informs the sender that a confirmation has been transmitted.
The sender fetches the confirmation (= header) with L2-RECEIVE.
Figure 8-6. Sending and Receiving Data with Acknowledgement or Confirmation (SDA)
Request SDA
Header with 8 bytes
In example: DB33,
DW 1 to DW 4
Data
In example: DB33,
DW 5 to DW 8
LAN bus
a
a
a
a
a
a
a
a
a
a
a
a
a
a
a
a
a
a
a
a
a
a
a
a
a
a
a
a
a
a
a
a
a
a
a
a
a
a
a
a
a
a
a
a
a
a
a
a
a
a
a
a
a
a
a
a
a
a
a
a
a
a
a
a
a
STBS:...2
H
SEND
SDA request
a
a
a
a
a
a
a
a
a
a
a
a
a
a
a
a
a
a
a
a
a
a
a
a
a
a
a
a
a
a
a
a
a
a
a
a
a
a
a
a
a
a
a
a
a
a
a
a
STBS:...4
H
Confirmation header
8 bytes
In example: DB33,
DW 10 to DW 13
RECEIVE
Request
(Data)
Sender control program (Station 1 in the
example)
a
a
a
a
a
a
a
a
a
a
a
a
a
a
a
a
a
a
a
a
a
a
a
a
a
a
a
a
a
a
a
a
a
a
a
a
a
a
a
a
a
a
a
a
a
a
a
a
a
a
a
a
a
a
a
a
a
a
a
a
(acknowledge)
a
a
a
a
a
a
a
a
a
a
a
a
a
a
a
a
a
a
a
a
a
a
a
a
a
a
a
a
a
a
a
a
a
a
a
a
a
a
a
a
a
a
a
a
a
a
a
a
a
a
a
a
STBR:...4
H
a
a
a
a
a
a
a
a
a
a
a
a
a
a
a
a
a
a
a
a
a
(Data)
Indication header
8 bytes
In example: DB34,
DW 10 to DW 13
Data
In example: DB34,
DW 14 to DW 17
RECEIVE
STBR:...1
H
a
a
a
a
a
a
a
a
a
a
a
a
a
a
a
a
a
a
a
a
a
a
a
a
a
a
a
a
a
a
a
a
a
a
a
a
a
a
a
a
a
a
a
a
a
a
a
a
a
a
a
a
a
a
a
a
a
a
a
a
a
a
a
a
a
a
a
a
a
a
a
a
a
a
a
a
a
a
a
a
Indication
a
a
a
a
a
a
a
a
a
a
a
a
a
a
a
a
a
a
a
a
a
a
a
a
a
a
a
a
a
a
a
a
a
a
a
a
a
a
a
a
a
a
a
a
a
a
a
a
a
a
a
a
a
a
a
a
a
a
a
a
a
a
a
a
STBS:...3
H
a
a
a
a
a
a
a
a
a
a
a
a
a
a
a
a
a
a
a
a
a
a
a
a
a
a
a
a
a
a
a
a
a
a
a
a
a
a
a
a
a
a
a
a
a
a
a
a
Confirmation
Receiver control program (Station 2 in the
example)
S5-95US5-95U
Figure 8-7 describes the structure of requests, confirmations and indications for the SDA service.
EWA 4NEB 812 6112-02
8-15

Table of Contents

Related product manuals