EasyManua.ls Logo

Simar FX 2004 - Spare Parts Information; Spare Parts FX 2004

Default Icon
41 pages
Print Icon
To Next Page IconTo Next Page
To Next Page IconTo Next Page
To Previous Page IconTo Previous Page
To Previous Page IconTo Previous Page
Loading...
Page 21 / 26
11
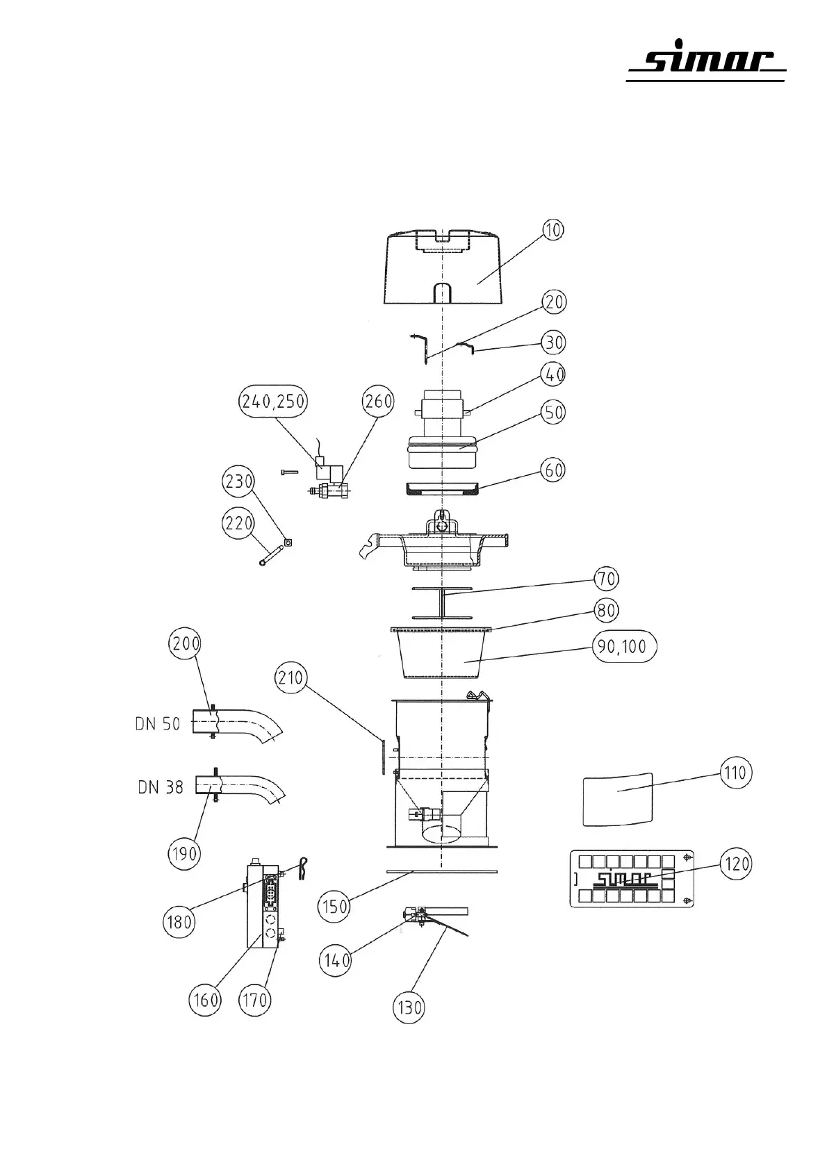
Spare parts
11.1 Spare parts FX 2004
E 10-2004