EasyManua.ls Logo

Sime EDEA T - Page 57

Sime EDEA T
80 pages
Print Icon
To Next Page IconTo Next Page
To Next Page IconTo Next Page
To Previous Page IconTo Previous Page
To Previous Page IconTo Previous Page
Loading...
57
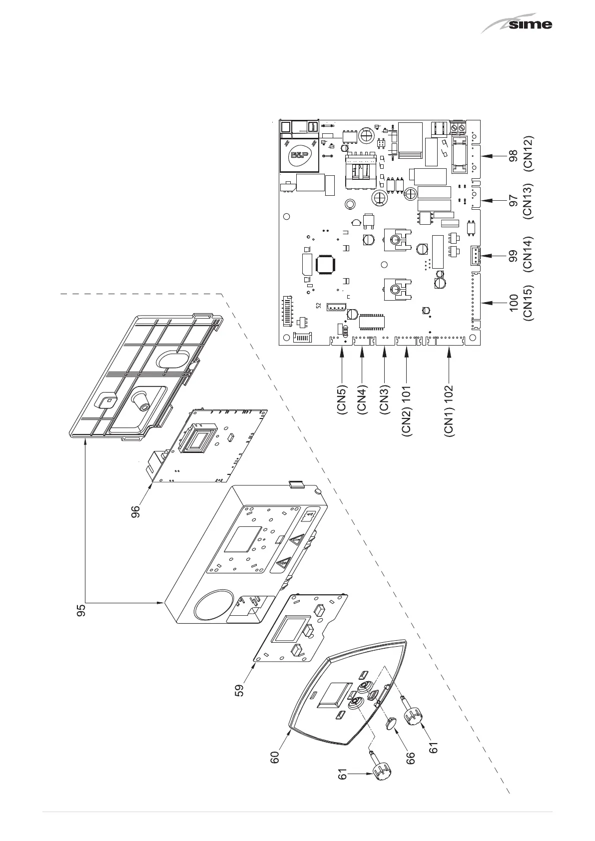
Control panel

Table of Contents

Related product manuals