EasyManua.ls Logo

Sime EDEA T - Page 68

Sime EDEA T
80 pages
Print Icon
To Next Page IconTo Next Page
To Next Page IconTo Next Page
To Previous Page IconTo Previous Page
To Previous Page IconTo Previous Page
Loading...
68
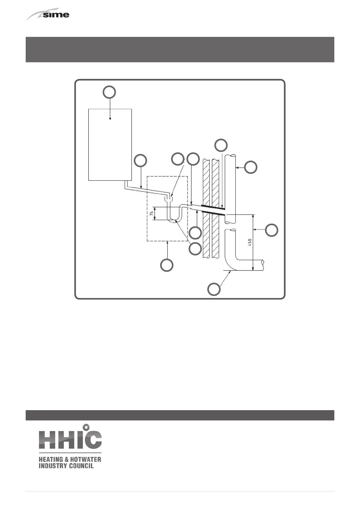
External Connections
Key
1 Boiler
2 Visible air break
3 75 mm trap
4 Visible air break and trap not required if there is a trap with a minimum condensate seal
of 75mm incorporated into the boiler.
5 Soil and vent stack
6 Invert
7 450mm minimum upto three storeys
8 Minimum internal diameter 19 mm
9 Pipe size transition point
10 Minimum internal diameter 30mm
11 Water/weather proof insulation
Figure 4 – Connection of condensate discharge pipe to external soil and vent stack
1
2
10
5
9
4
8
3
7
6
11
October 2018 Issue 1.0

Table of Contents

Related product manuals