EasyManua.ls Logo

Singer 6180 - Algemene Storingen; Groot Aanschuifplateau; Nuttige Tips Bij Storingen; Optioneel Toebehoren

Singer 6180
160 pages
Print Icon
To Next Page IconTo Next Page
To Next Page IconTo Next Page
To Previous Page IconTo Previous Page
To Previous Page IconTo Previous Page
Loading...
117 NL/BE
1
Grijper
2
Afdekking van
de grijperbaan
3
Spoelhuis
4
Aandrijving van
de grijper
5
Houder(s)
6
Transporteur
Reiniging van het
grijpergebied
A. Zet de naald in de hoogste stand.
B. 1. Neem het spoelhuis uit de grijper.
2. Druk beide houders naar buiten.
3. Neem de grijper uit de afdekking van de
grijperbaan.
C. Reinig de transporteurs en het grijpergebied
met het pluizenkwastje.
LET OP! Geef een druppel naaimachineolie
op de centrale pin van de grijper en op de
grijperaandrijving, zie pijlen.
D. 1. De grijperaandrijving moet als een halve
maan aan de linkerkant staan.
2. Houd de grijper aan de centrale pin vast en
positioneer hem zo dat hij als een halve
maan op de rechterkant ligt.
3. Breng de afdekking van de grijperbaan aan.
4. Druk de houders weer dicht.
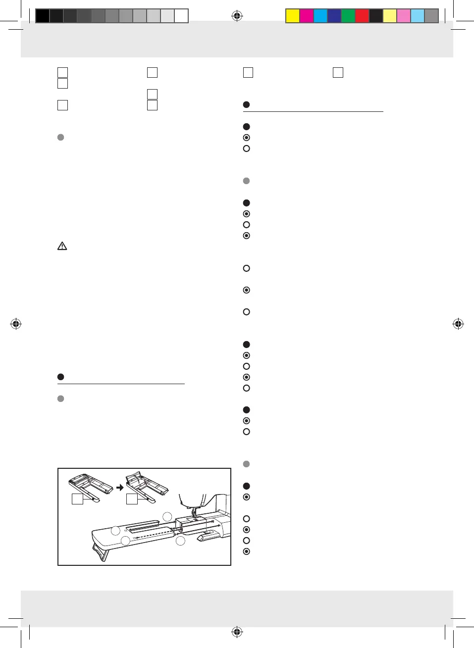
Optioneel toebehoren
Groot aanschuifplateau
Voor het monteren van het aanschuifplateau klapt
u de steunvoet omhoog en schuift u de geleidepin-
nen van het plateau zoals weergegeven in de ope-
ningen A. B, C, en D van de machine.
C
D B
A
21
1
Aanschuifplateau
2
Steunvoet
Nuttige tips bij storingen
= Storing
= Oorzaak
= Oplossing
Algemene storingen
= De machine naait niet.
= De hoofdschakelaar is niet ingeschakeld.
= Hoofdschakelaar inschakelen.
= De hendel van de knoopsgatenvoet bevindt
zich bij het naaien van steekpatronen niet in
de bovenste positie.
= Zet de hendel van de knoopsgatenvoet in de
bovenste positie.
= De hendel van de knoopsgatenvoet is bij het
naaien van knoopsgaten niet omlaag gezet.
= Zet de hendel van de knoopsgatenvoet
omlaag.
= Machine blokkeert/schokt.
= Draad verstrikt in de grijper.
= Ruimte van de grijper reinigen.
= De naald is beschadigd.
= Naald vervangen.
= De machine transporteert niet.
= De naaivoet staat omhoog.
= Naaivoet omlaag zetten.
Problemen met de steken
= Er worden steken overgeslagen
= De naald is niet helemaal in de naaldhouder
geschoven.
= Zie „Wisselen van naald“.
= De naald is stomp en verbogen.
= Naald vervangen.
= De machine is niet goed ingeregen.
113223_Naehmaschine_Singer_Content_BE.indd 117 09.02.15 12:02

Table of Contents

Other manuals for Singer 6180

Related product manuals