EasyManua.ls Logo

Singer 6180 - Automatische Knopflöcher; Knopflöcher

Singer 6180
160 pages
Print Icon
To Next Page IconTo Next Page
To Next Page IconTo Next Page
To Previous Page IconTo Previous Page
To Previous Page IconTo Previous Page
Loading...
154 DE/AT/CH
beste Ergebnisse, verstärken Sie Ihren Stoff mit einem
entfernbaren oder auswaschbarem Stabilisator.
Tipp: Der Unterfaden sollte nicht auf der
Oberseite des Gewebes erscheinen; anderenfalls
kann es notwendig sein die Fadenspannung etwas
niedriger einzustellen.
Knopflöcher
Automatische Knopflöcher
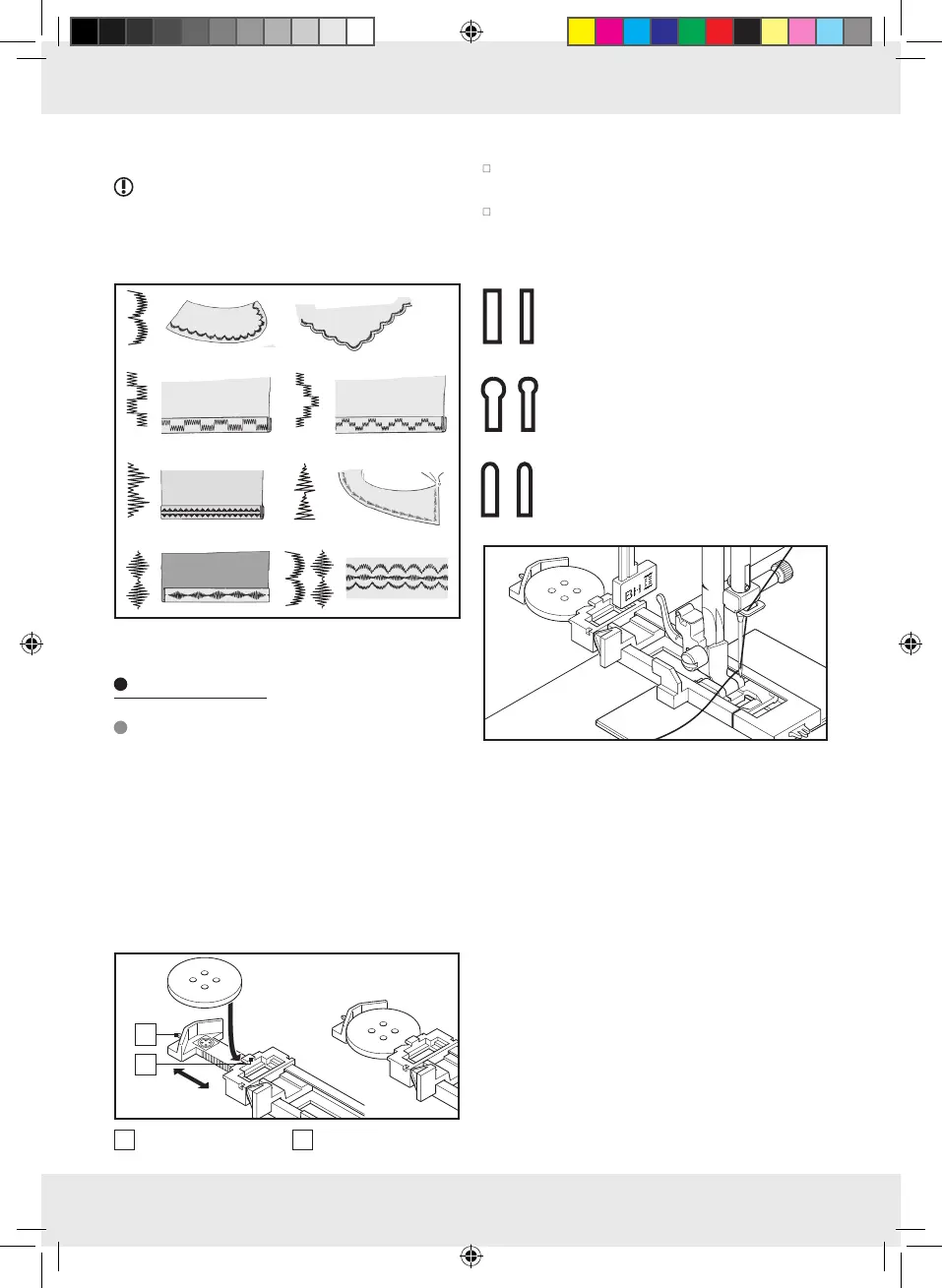
GEBRAUCH DES KNOPFLOCHFUSSES
Ihre Nähmaschine bietet Muster für Knopflochrau-
pen in 2 verschiedenen Breiten sowie für Augen -
und Rundknopflöcher und ist mit einem System
zur Messung der Knopfgröße und Ermittlung der
erforderlichen Knopflochlänge ausgestattet. Alles
erfolgt in einem einzigen Arbeitsschritt.
1
2
1
Anschlag A
2
Anschlag B
VORBEREITUNG ZUM NÄHEN
Im Knopflochbereich sollten Sie den Stoff mit
Stickvlies, Seidenpapier o. Ä. unterlegen.
Nähen Sie ein Knopfloch zur Probe auf einem
Reststück Ihres Stoffes. Probieren Sie es mit
dem gewünschten Knopf aus.
100 Stiche Modell: 94, 95
80 Stiche Modell: 74, 75
60 Stiche Modell: 56, 57
100 Stiche Modell: 96, 97
80 Stiche Modell: 76, 77
60 Stiche Modell: 58, 59
100 Stiche Modell: 98, 99
80 Stiche Modell: 78, 79
60 Stiche Modell: –, –
1. Wählen Sie eines der beiden Knopflochmuster.
2. Bringen Sie den Knopflochfuß (D) an (siehe
Kapitel „Nähfuß auswechseln”).
3. Legen Sie den Knopf in den Kopflochfuß ein
(siehe oben, „Gebrauch des Knopflochfußes”).
4. Senken Sie den Knopflochhebel (C ) so ab,
dass er senkrecht zwischen beiden Anschlägen
(A) und (B) steht.
5. Markieren Sie die Position des Knopflochs
sorgfältig auf Ihrem Stoff.
6. Legen Sie den Stoff unter den Knopflochfuß.
Ziehen Sie ca. 10 cm des Unterfadens unter
dem Stoff nach hinten.
7. Bringen Sie die Markierung auf Ihrem Stoff und
die Markierung am Knopflochfuß zur Deckung,
und lassen Sie den Knopflochfuß herunter.
8. Halten Sie den Oberfaden leicht fest, und star-
ten Sie die Maschine.
113223_Naehmaschine_Singer_Content_BE.indd 154 09.02.15 12:02

Table of Contents

Other manuals for Singer 6180

Related product manuals