EasyManua.ls Logo

Skope VF650 - Controller Reset

Skope VF650
16 pages
Print Icon
To Next Page IconTo Next Page
To Next Page IconTo Next Page
To Previous Page IconTo Previous Page
To Previous Page IconTo Previous Page
Loading...
10
Operation
User Manual
SKOPE VF Series
Controller
Reset
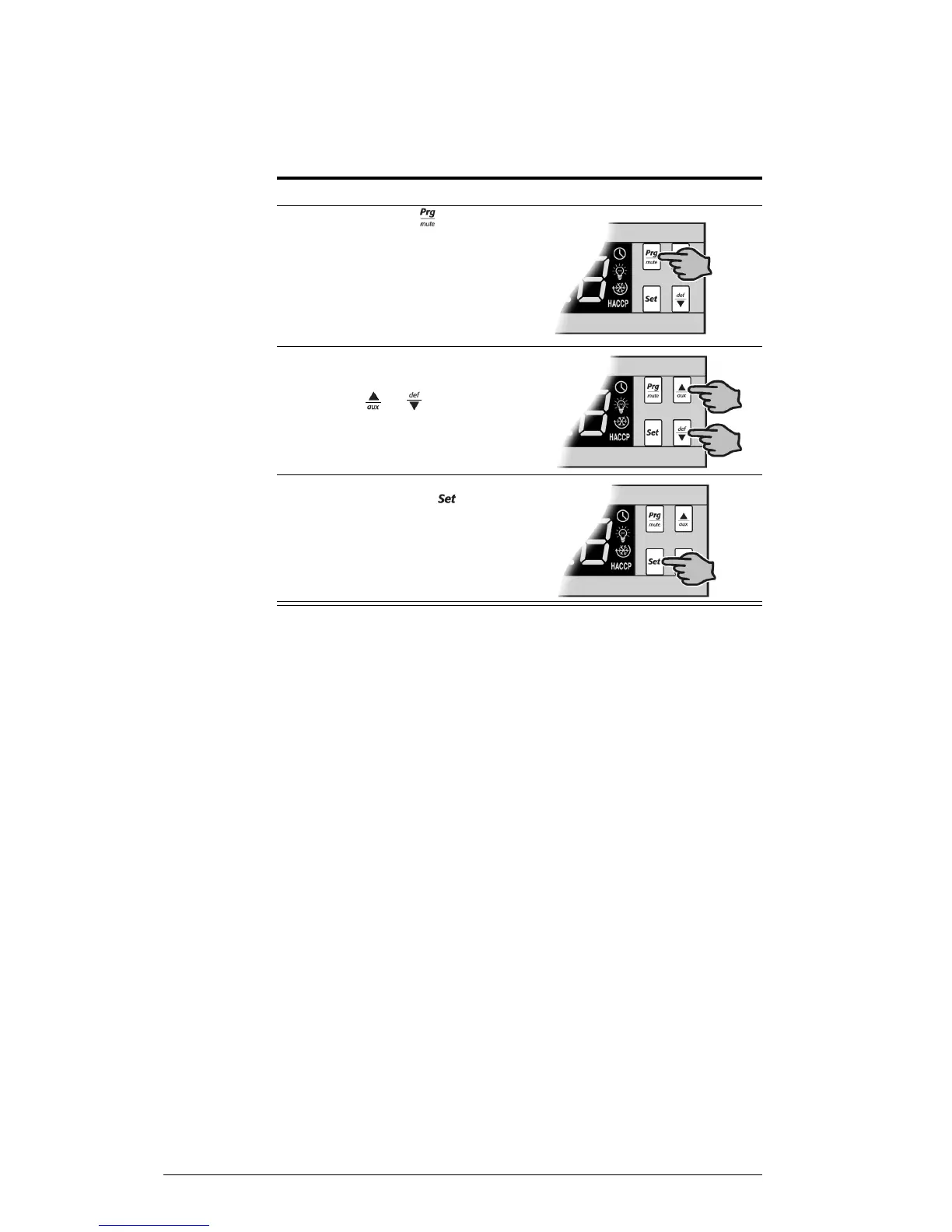
To delete program modifications and reset the controller to SKOPE default
program or when a replacement controller is being fitted, a ‘Controller Reset’
must be performed.
To reset the controller
1. Disconnect the freezer from the power supply.
2. Press and hold the key while
plugging the freezer into the power
supply (this may require two people).
After a few seconds the controller is
reset and program mode ‘bn0’ is
displayed. The controller must never be
left in program mode ‘bn0’ as failure
will occur.
3. Press the or keys to select
bn1’ for SKOPE default program.
4. Immediately press the key to
confirm the preferred program. If not
confirmed within 60 seconds the
freezer will remain in program mode
bn0’ (and cause failure). If this occurs,
repeat the above procedure.

Other manuals for Skope VF650

Related product manuals