EasyManua.ls Logo

Skyjack SJ9250 RT - Page 78

Skyjack SJ9250 RT
94 pages
Print Icon
To Next Page IconTo Next Page
To Next Page IconTo Next Page
To Previous Page IconTo Previous Page
To Previous Page IconTo Previous Page
Loading...
Page 78 December 2007
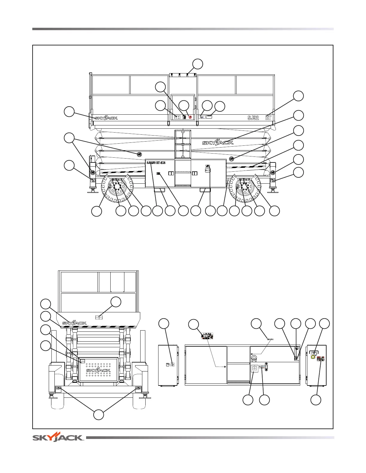
Rough Terrain Scissors
Labels Section 5
14
1
23
Model 9250
Left Side
Front Side
147197AA
ZZ
TM
16
20
30 17
38 39
11
Electrical Panel and Hydraulic/Fuel Compartment
19 2118
1
41
33
32 34 14
9
1
2
10
41
6
29
227
8
65 5
10
4 4
3
3
28
10
2
4242
12
13
2

Table of Contents

Related product manuals