EasyManua.ls Logo

SMC Networks ZSE40A - [F 5] Setting of Analogue Output; Auto-Shift Input

SMC Networks ZSE40A
76 pages
Print Icon
To Next Page IconTo Next Page
To Next Page IconTo Next Page
To Previous Page IconTo Previous Page
To Previous Page IconTo Previous Page
Loading...
-37-
No.PS※※-OMM0007-H
Press the button to set.
Setting of [F 5] Analogue output / Auto-shift input completed
Conditions and explanations for auto-shift function
•Maintain a constant pressure for 5 ms or longer from the end of the auto-shift input signal.
•At auto-shift input, [ooo] is displayed for approximate 1 second. The measured pressure value at that time
is stored as the corrected value [C_5].
•With the corrected value stored, the set value is compensated.
•The switch output will start within 10 ms of the auto-shift input signal.
•If the measured pressure exceeds the set pressure range during auto-shift input signal, the corrected
value will not be stored and [o.r] is displayed for approximately 1 second.
If the pressure is within the set pressure range and beyond the set value corrected by auto-shift (including
hysteresis) when the auto-shift input is applied, the set value is corrected to the upper limit or lower limit
(whichever is closer) of the set pressure range automatically. (The correction is performed when the
auto-shift input is applied at the pressure beyond the set pressure range. If the auto-shift input is applied
again at the pressure within the set pressure range, the correction is released and the product operates
according to the set value).
•After completing the pressure setting of OUT2, the corrected value and [C_5] will be displayed in turn.
Press the button to return to measurement mode.
•The corrected value [C_5] after auto-shift input will disappear when the power is turned off, and will reset
to zero (initial value) when the power is returned.
: The EEPROM is not used for the memory corrected value.
Using the Auto-shift input, the acceptable set range is as follows:
Range
Set Pressure range
Acceptable Set range
Compound pressure
-105.0 to 105.0 kPa
-210 to 210 kPa
Positive pressure
-0.105 to 1.050 MPa
-1.155 to 1.155 MPa
Vacuum
10.0 to -105.0 kPa
-115.0 to 115.0 kPa
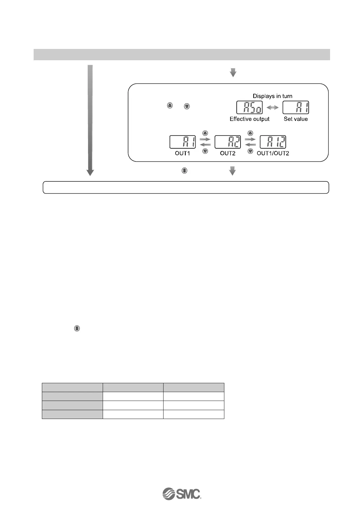
Setting of effective output
Press the
or button to
select effective output.
Return to function selection
mode.

Related product manuals