EasyManua.ls Logo

Smithco 13-550-C - Hydraulic Oil Filter Drawing

Default Icon
108 pages
Print Icon
To Next Page IconTo Next Page
To Next Page IconTo Next Page
To Previous Page IconTo Previous Page
To Previous Page IconTo Previous Page
Loading...
38
Parts
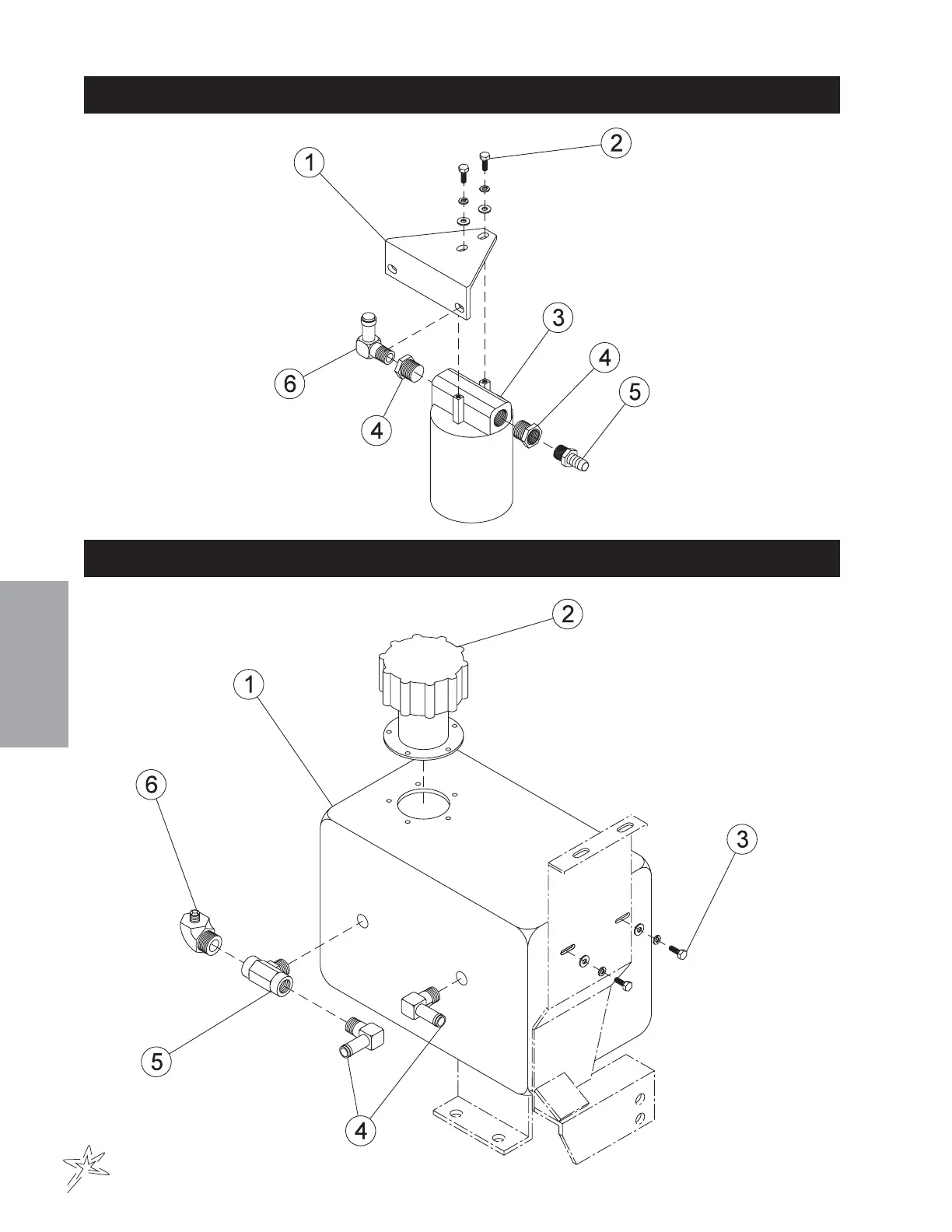
HYDRAULIC OIL FILTER DRAWING
HYDRAULIC OIL TANK DRAWING

Related product manuals