EasyManua.ls Logo

SnowEx Bulk-Pro 1875 - Spreader Mount Parts;Diagrams

SnowEx Bulk-Pro 1875
51 pages
Print Icon
To Next Page IconTo Next Page
To Next Page IconTo Next Page
To Previous Page IconTo Previous Page
To Previous Page IconTo Previous Page
Loading...
© Trynex International 2009 L1040
7 — 29
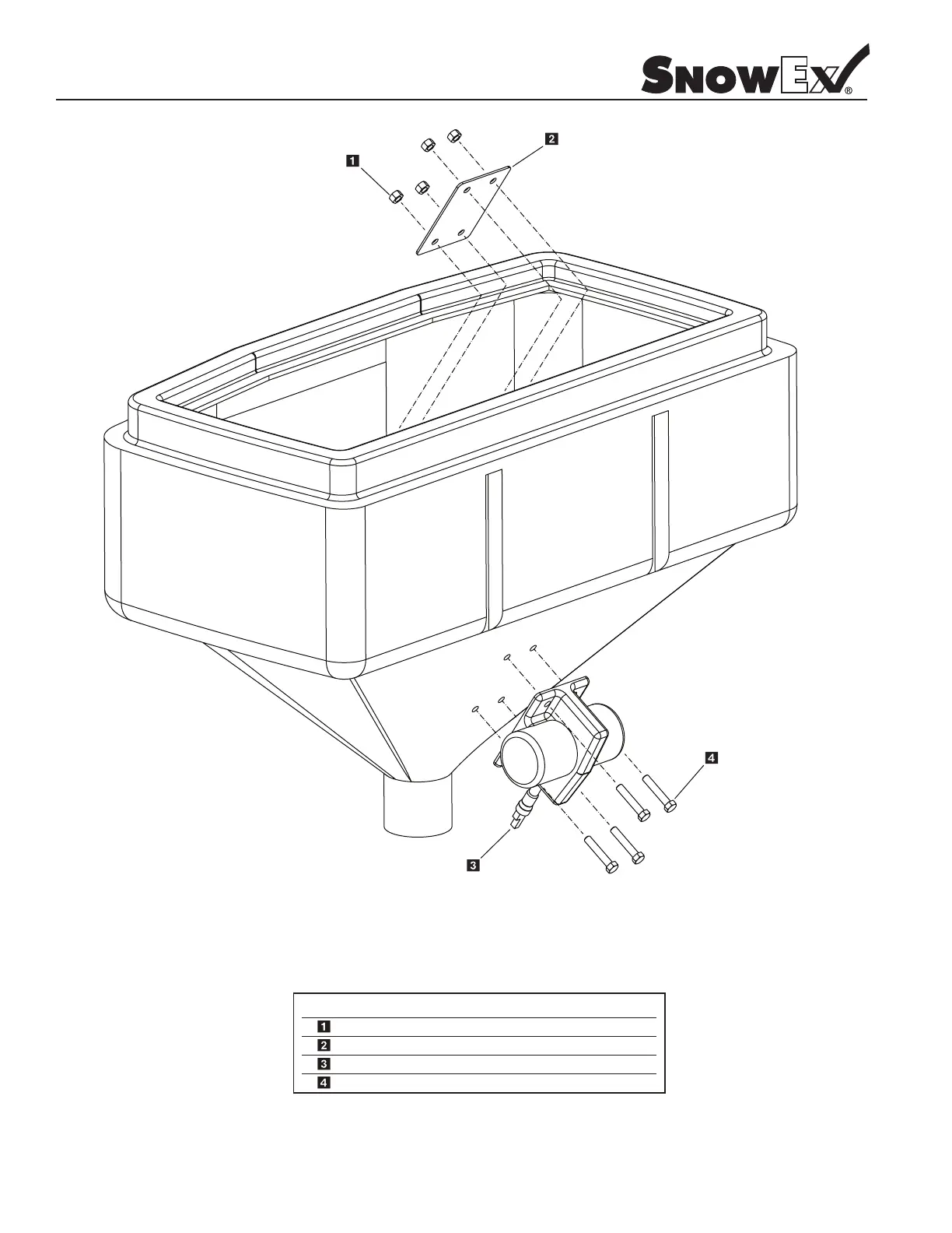
Vibrator Parts Breakdown
Model # VBR-080
575 Hopper For
Reference Only
.ytQ noitpircseD .oN traP yeK
4
1
tuN kcoL ''8/3
4214 D
D 6160 3/8'' - 16x2 Hex Bolt
4
4
1
rotarbiV 08-CD 1616 D
D 6579 Vibrator Backing Plate
Rev. 05