EasyManua.ls Logo

socomec COUNTIS E50 - Network Configuration

socomec COUNTIS E50
76 pages
Print Icon
To Next Page IconTo Next Page
To Next Page IconTo Next Page
To Previous Page IconTo Previous Page
To Previous Page IconTo Previous Page
Loading...
24
COUNTIS E50/E53 - Ref.: 536 419 A
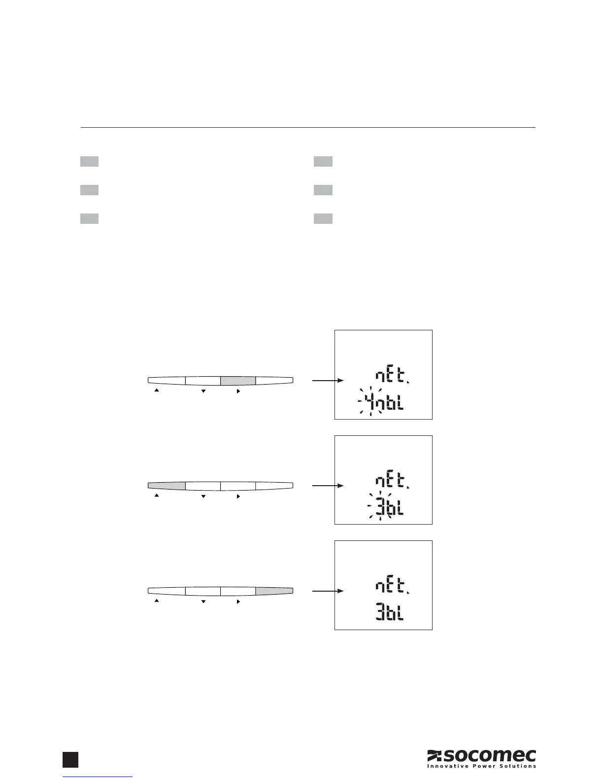
RÉSEAU (EXEMPLE : NET = 3NBL)
PROG
OK
UI
P PF
E
/ TEST
PROG
OK
UI
P PF
E
/ TEST
PROG
OK
UI
P PF
E
/ TEST
x 1
FRQðUP
x 1(1BL)
x 2 (2BL)
x 3 (3BL)
x 4 (3NBL)
x 5 (4BL)
x 6 (4NBL)
GB
Network
Example : nEt = 3NBL
D
Netzfrequenz
Beispiel: nEt = 3NBL
I
Frequenza
Esempio: nEt = 3NBL
NL
Netfrequentie
Voorbeeld: nEt = 3NBL
E
Frecuencia
Ejemplo: nEt = 3NBL
P
Frequência
Exemplo: nEt = 3NBL
x 1
COUNTIS E50/E53
PROGRAMMATION
PROGRAMMING - KONFIGURATION - PROGRAMMAZIONE -
PROGRAMMERING- PROGRAMACIÓN - PROGRAMAÇÃO

Related product manuals