EasyManua.ls Logo

socomec COUNTIS E50 - Page 43

socomec COUNTIS E50
76 pages
Print Icon
To Next Page IconTo Next Page
To Next Page IconTo Next Page
To Previous Page IconTo Previous Page
To Previous Page IconTo Previous Page
Loading...
43
COUNTIS E50/E53 - Ref.: 536 419 A
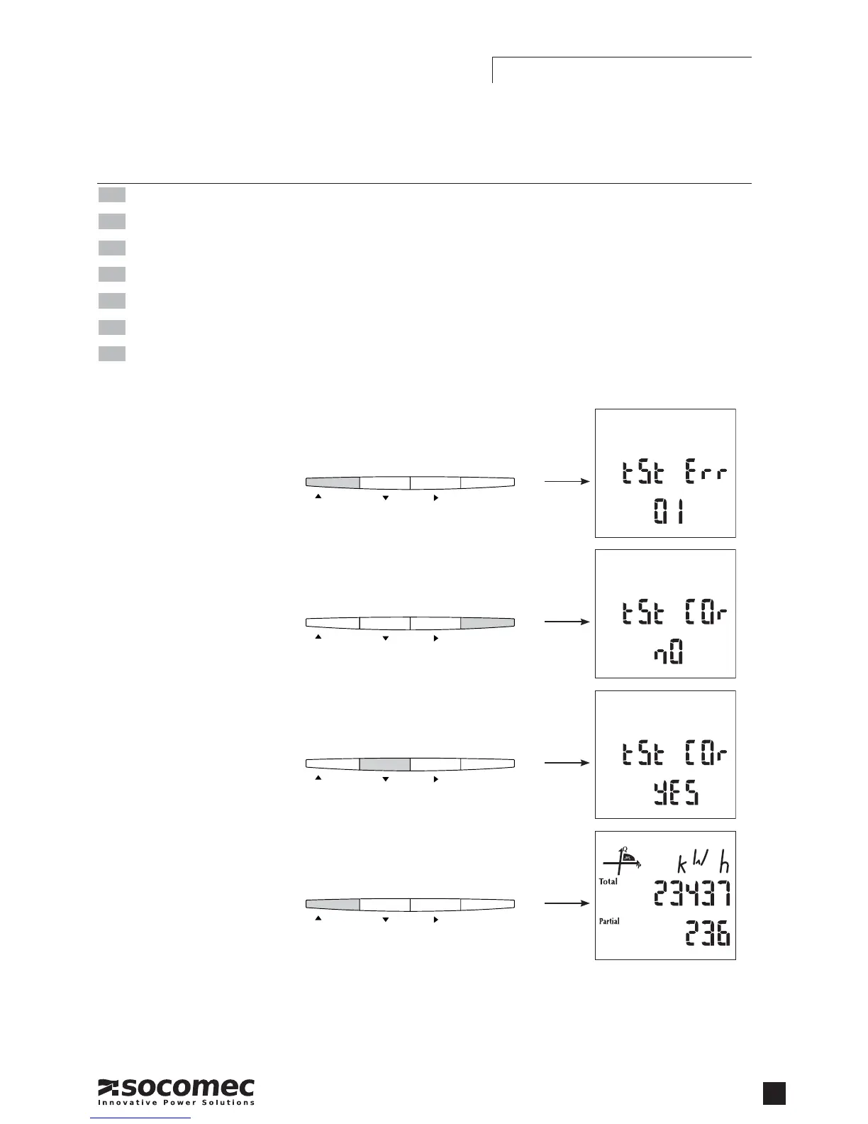
FONCTION DE TEST DU RACCORDEMENTFONCTION DE TEST DU RACCORDEMENT
COUNTIS E50/E53
F
Exemple : TEST Err 01
GB
Example : TEST Err 01
D
Beispiel: TEST Err 01
I
Esempio: TEST Err 01
NL
Voorbeeld: TEST Err 01
E
Ejemplo: TEST Err 01
P
Exemplo: TEST Err 01
PROG
OK
UI
P PF
E
/ TEST
x 1
3 sec.
PROG
OK
UI
P PF
E
/ TEST
x 1
PROG
OK
UI
P PF
E
/ TEST
x 1
PROG
OK
UI
P PF
E
/ TEST
x 1

Related product manuals