EasyManua.ls Logo

socomec DIRIS Digiware DC - Description of the Association of DC Network and Loads

socomec DIRIS Digiware DC
52 pages
Print Icon
To Next Page IconTo Next Page
To Next Page IconTo Next Page
To Previous Page IconTo Previous Page
To Previous Page IconTo Previous Page
Loading...
28 EN
DIRIS DIGIWARE DC - 545830B - SOCOMEC
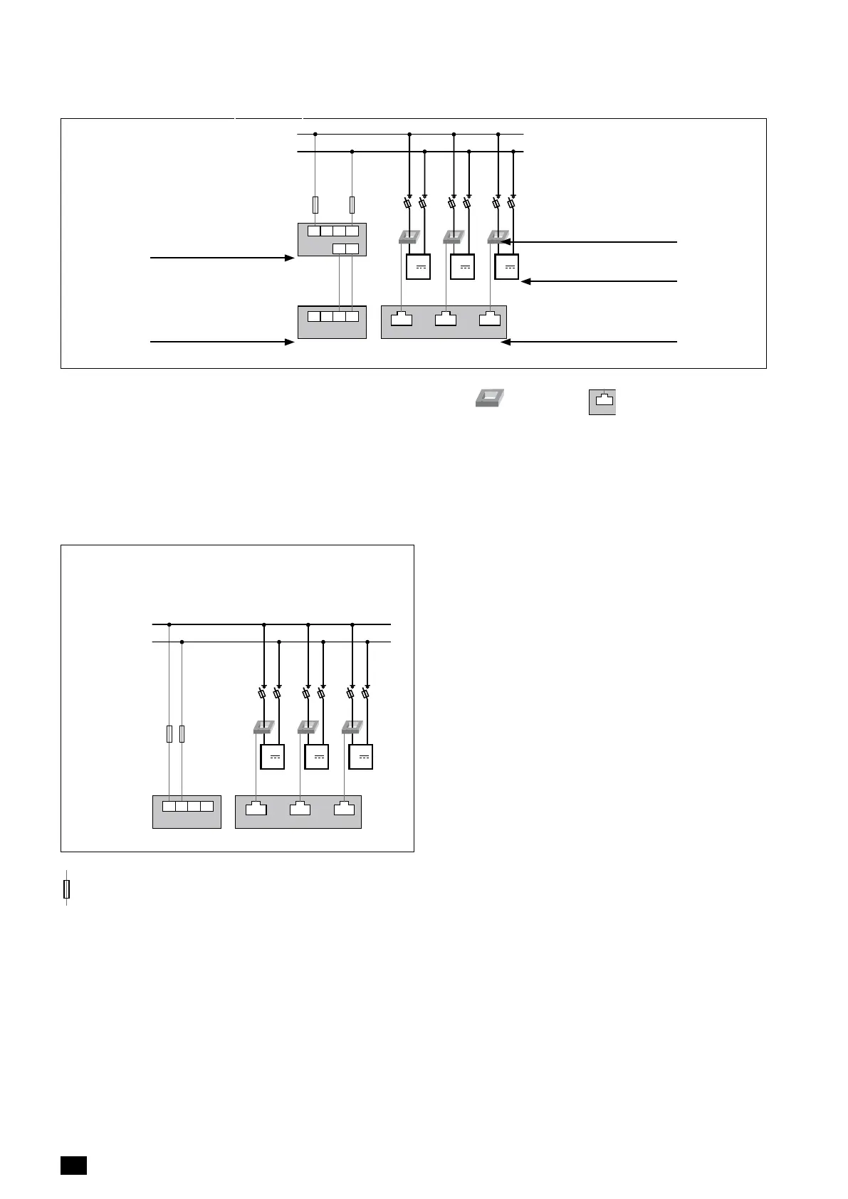
6.5.1. Description of the association of DC network and loads
Legend:
I
NC NC -+
V
0 V
± 200 - 600 VDC
I01 I02 I03
1 1 1
-+
-NCNC+
U-32dc
I-3xdc
U500dc
DC load
DC Current sensor
Current terminal
Voltage terminal
Voltage adapter
DC current sensor
I
-+NC NC
V
0 V
± 19.2 - 60 VDC
I01
I02 I03
1 1 1
I
NC NC -+
V
0 V
± 48 - 180 VDC
I01 I02 I03
1 1 1
I
NC NC -+
V
0 V
± 200 - 600 VDC
I01 I02 I03
1 1 1
-+
-NCNC+
U-32dc
I-3xdc
U-32dc
I-3xdc
U-31dc
I-3xdc
U500dc
I
NC NC -+
V
0 V
± 400 - 1200 VDC
I01 I02 I03
1 1 1
-+
NC-NC+
U-32dc
I-3xdc
U1000dc
I
NC NC -+
V
0 V
± 1200 - 1500 VDC
+10%
I01 I02 I03
1 1 1
-+
NC-NC+
U-32dc
I-3xdc
U1500dc
DC load
Each current input is individual; see below for connection examples:
6.5.1.1. DIRIS Digiware U-31dc
Measurement of 3 DC loads
DIRIS Digiware U-31dc
Voltage VDC: min. 19.2 - max. 60 V
I
-+NC NC
V
0 V
± 19.2 - 60 VDC
I01 I02 I03
1 1 1
I
NC NC -+
V
0 V
± 48 - 180 VDC
I01 I02 I03
1 1 1
I
NC NC -+
V
0 V
± 200 - 600 VDC
I01 I02 I03
1 1 1
-+
-NCNC+
U-32dc
I-3xdc
U-32dc
I-3xdc
U-31dc
I-3xdc
U500dc
I
NC NC -+
V
0 V
± 400 - 1200 VDC
I01 I02 I03
1 1 1
-+
NC-NC+
U-32dc
I-3xdc
U1000dc
I
NC NC -+
V
0 V
± 1200 - 1500 VDC +10%
I01 I02 I03
1 1 1
-+
NC-NC+
U-32dc
I-3xdc
U1500dc
I
I01 I02 I03
I
V
I
V
V
I
111
N
V1 V2 V3 VN
L1
L2
L3
I01 I02 I03
V1 V2 V3 VN
V
L1
L2
I01 I02 I03
V1 V2 V3 VN
L1
N
I02 I03
N
V1 V2 V3 VN
I
L1
L2
L3
3
I01 I02 I03
N
V1 V2 V3 VN
V
I
L1
L2
L3
3
I01 I02 I03
N
V1 V2 V3 VN
V
I
L1
L2
L3
333
I01 I02 I03
I01
N
V1 V2 V3 VN
V
I
L1
L2
L3
I01 I02 I03
3+ N
N
V1 V2 V3 VN
V
L1
L2
L3
222
3+ N
1 1 1
Fuse: 2A gPV

Table of Contents

Related product manuals