EasyManua.ls Logo

Solmeta GMAX - Compass Calibration; Calibration Procedure

Solmeta GMAX
44 pages
Print Icon
To Next Page IconTo Next Page
To Next Page IconTo Next Page
To Previous Page IconTo Previous Page
To Previous Page IconTo Previous Page
Loading...
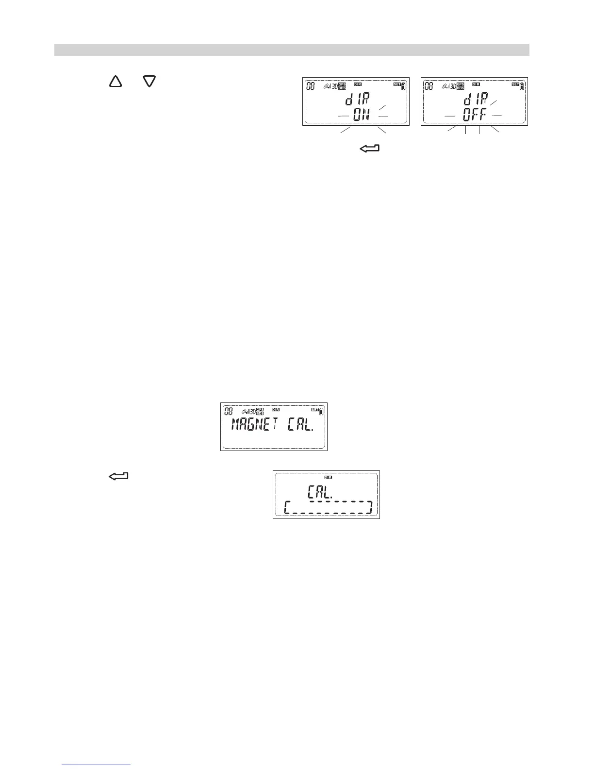
How to calibrate?
1.While the LCD shows
Press and the LCD shows
How to do the custom setting?
2.Press or to change the option
3.While your preferred option appears, press to confirm your
selection.
Doing the compass calibration
Why calibrate?
The compass in the receiver is sensitive to nearby magnetic objects
that could cause measuring error. To compensate for this error, it is
sometime necessary to perform a calibration. (If the compass is accurate,
there is no need to perform the calibration)
23

Related product manuals