EasyManua.ls Logo

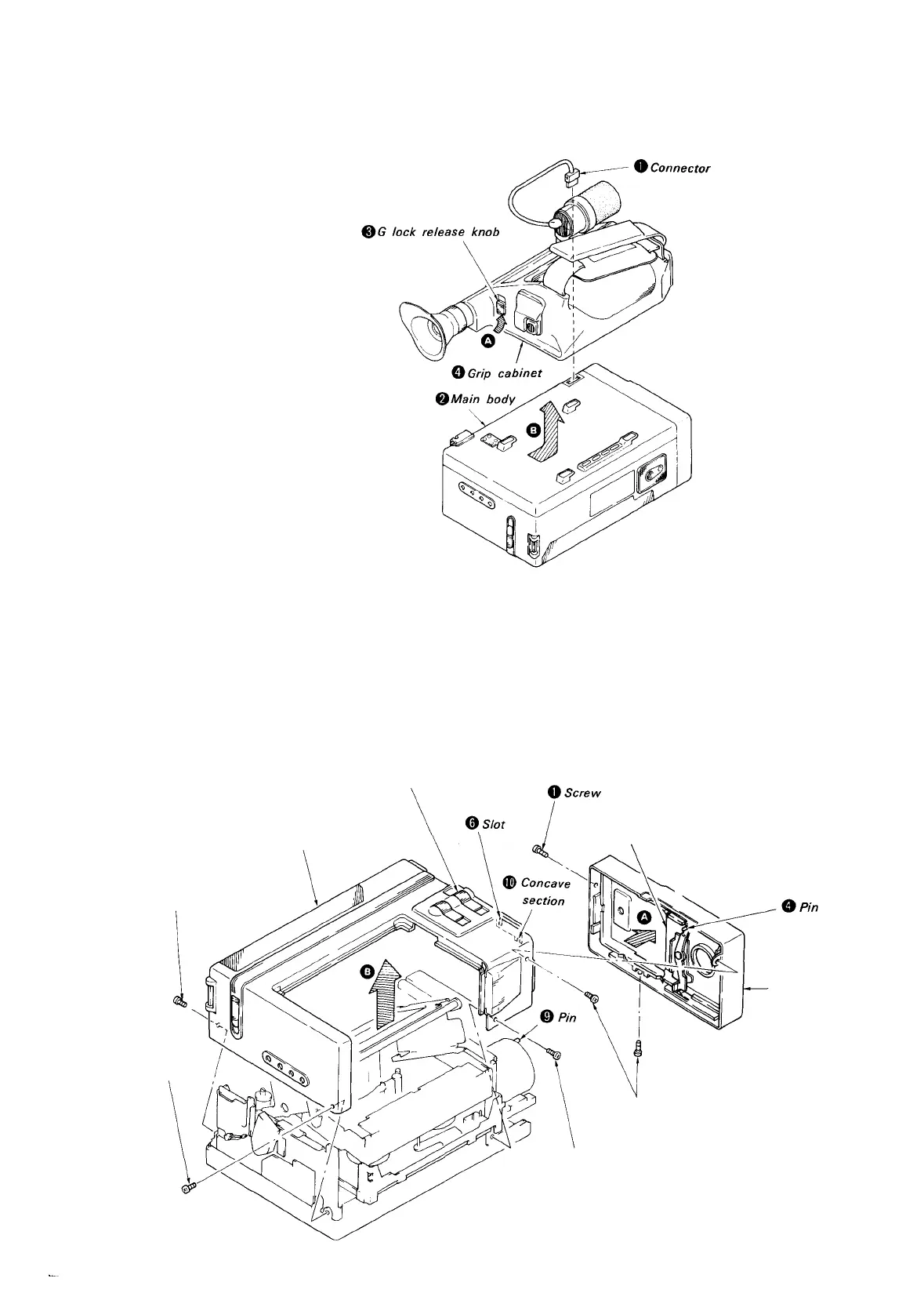
Sony CCD-M8U - Removal of Front Cabinet and Rear Cabinet; Removal of Grip Cabinet

Sony CCD-M8U
166 pages
Print Icon
To Next Page IconTo Next Page
To Next Page IconTo Next Page
To Previous Page IconTo Previous Page
To Previous Page IconTo Previous Page
Loading...
    
1)

  0 



G 

 



 
      


3  0
.
       .
*

 


   




3)
 

   8  
*
 
    
 


 


Table of Contents

Other manuals for Sony CCD-M8U

Related product manuals