EasyManua.ls Logo

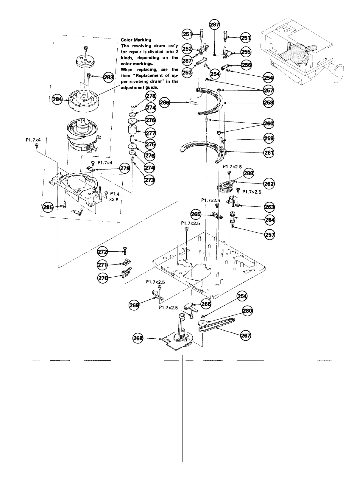
Sony CCD-M8U - Chassis Assembly

Sony CCD-M8U
166 pages
Print Icon
To Next Page IconTo Next Page
To Next Page IconTo Next Page
To Previous Page IconTo Previous Page
To Previous Page IconTo Previous Page
Loading...
  (
2)
,-
I

























 













 







   
  
 T
 
   
  
 
   

 
   
   
    
  
  
   
 
  

   
  
 
 




   

 
   


  


   


  


  


 


 


  


   


  




 


    


    
   


  
 




   


 


Table of Contents

Other manuals for Sony CCD-M8U

Related product manuals