EasyManua.ls Logo

Sony CDP-411 - Circuit Boards Location -+++++++++Eeeees

Sony CDP-411
32 pages
Print Icon
To Next Page IconTo Next Page
To Next Page IconTo Next Page
To Previous Page IconTo Previous Page
To Previous Page IconTo Previous Page
Loading...
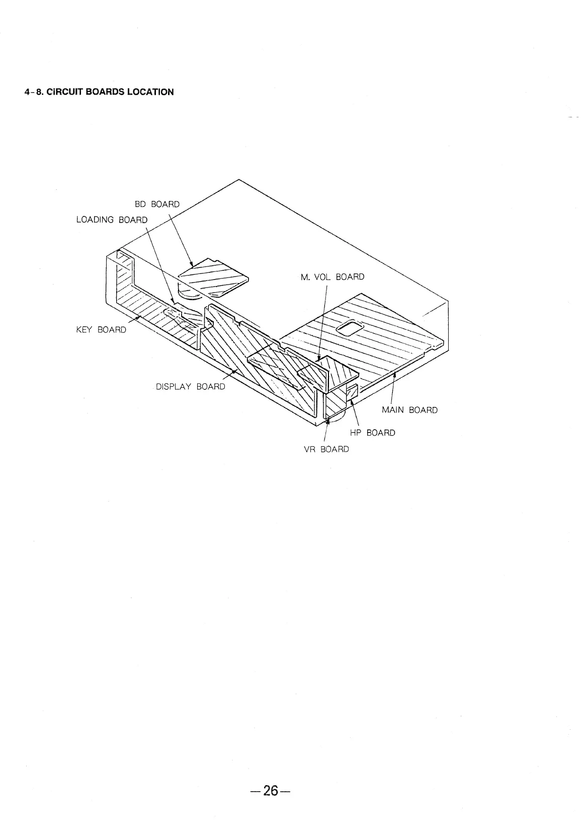
4-8.
CIRCUIT
BOARDS
LOCATION
BD
BOARD
LOADING
BOARD
M.
VOL.
BOARD
DISPLAY
BOARD
MAIN
BOARD
HP
BOARD
VR
BOARD
—I26—

Related product manuals